Dùng Trước Trả Sau
Hệ thống cửa hàng điện thoại Minh Tuấn Mobile

 Xu hướng tìm kiếm

Galaxy S26 SeriesGalaxy S26 Series
AirTag 2 MớiAirTag 2 Mới
iPhone 17 sẵn hàngiPhone 17 sẵn hàng
MacBook Neo giá tốtMacBook Neo giá tốt
AirPods 4AirPods 4
iPhone Air sẵn hàngiPhone Air sẵn hàng
Apple Watch S11Apple Watch S11
Ốp lưng PitakaỐp lưng Pitaka
Osmo Pocket 4Osmo Pocket 4
Ốp lưng AppleỐp lưng Apple
Loa MarshallLoa Marshall
Cốc sạc AppleCốc sạc Apple
  • hotline18003355
  • Giỏ hàngcủa bạn
  • Kiểm tra đơn hàng
  • Hệ Thống Cửa hàng
  • tài khoản Đăng nhập
  • iPhone
    iPhone

    Dòng máy

    • iPhone Air
    • iPhone 17
    • iPhone 16
    • iPhone 15
    • iPhone 14
    • iPhone 13
  • Điện thoại

    Samsung

    • Galaxy Z Series
      • Galaxy Z7 Series
    • Galaxy S Series
      • Galaxy S26 Series
      • Galaxy S25 Series
    • Galaxy A Series

    Điện Thoại

    • OPPO
    • Xiaomi
    • HONOR
    • Realme
    • Nokia
  • Mac
    Mac

    MacBook

    • MacBook Neo Mới
    • MacBook Air
      • MacBook Air M5 Mới
      • MacBook Air 13 inch
      • MacBook Air 15 inch
    • MacBook Pro
      • MacBook Pro M5
      • MacBook Pro 14 inch
      • MacBook Pro 16 inch

    Mac

    • Mac mini
    • Mac Studio
    • iMac
  • Laptop

    ASUS

    DELL

    Lenovo

    HP

    MSI

  • Tablet
    Tablet

    iPad

    • iPad Air
      • iPad Air M4 Mới
      • iPad Air M3
    • iPad Pro
      • 11 inch
      • 13 inch
    • iPad A16
    • iPad Mini
    • iPad 11 inch
    • iPad 13 inch

    Galaxy Tab

    • Galaxy Tab Series 10
    • Galaxy Tab Series 11
    • Galaxy Tab A11

    Xiaomi

  • Smartwatch

    Apple Watch

    • Apple Watch S11
    • Apple Watch SE
      • Apple Watch SE 3
    • Apple Watch Ultra
      • Apple Watch Ultra 3

    Galaxy Watch

    • Galaxy Watch8 Series
    • Galaxy Watch Ultra
    • Galaxy Fit3

    Đồng hồ

    • Garmin
    • SoundPeats
    • Xiaomi
  • Màn hình

    Màn hình

    • Samsung
    • Dell
    • AOC
    • VIEWSONIC
    • PHILIPS
    • VSP

    Máy chiếu

    • MicroPack

    Mực in

    • i-Aicon
    • HP
  • PC
  • Âm thanh

    Chọn loại tai nghe

    • Tai nghe chụp tai
    • Tai nghe có dây
    • Tai nghe Bluetooth
    • Tai nghe gaming
    • Tai nghe thể thao

    Chọn loại loa

    • Loa nhỏ gọn
    • Loa Karaoke
    • Loa Soundbar

    Micro

    Thương hiệu loa

    • Bang & Olufsen
    • Bose
    • Marshall
    • JBL
    • SoundPEATS
    • Sony
    • Alpha Works
    • Sounarc
    • Harman Kardon
    • Edifier
    • Thương hiệu khác

    Thương hiệu tai nghe

    • Apple
    • Samsung
    • Bang & Olufsen
    • Bose
    • Marshall
    • JBL
    • SoundPEATS
    • Havit
    • Alpha Works
    • NoThing
    • Earfun
    • Sony
    • QCY
    • Baseus
    • Thương hiệu khác
  • Phụ kiện

    Phụ kiện Apple

    • Ốp lưng Apple
    • Cốc sạc Apple
    • Cáp sạc Apple
    • Pencil Apple
    • Chuột Apple
    • Bàn phím Apple
    • Airtag

    Phụ kiện khác

    • Quạt cầm tay
    • Dây đeo đồng hồ
    • Ổ cắm điện

    Phụ kiện di động

    • Dán màn hình/ Dán cường lực
    • Ốp lưng/ Bao da
    • Dán camera
    • Adapter, củ sạc
    • Cáp sạc
    • Pin sạc dự phòng
    • Giá đỡ điện thoại
    • Gậy chụp ảnh
    • Apple care +
    • Bút cảm ứng
    • Sim số
    • Phụ kiện di động khác

    Thiết bị mạng

    Phụ kiện Laptop

    • Chuột
    • Bàn phím
    • Sạc Laptop
    • Balo/ Túi chống sốc/ Túi đeo chéo
    • Hub chuyển đổi
    • Phần mềm Microsoft
    • Phủ phím
    • Dán màn hình
    • Giá đỡ Laptop

    Camera

    • Camera hành động
    • Camera hành trình
    • Camera an ninh

    Thiết bị lưu trữ

    • USB
    • Thẻ nhớ
    • Ổ cứng di động
    • Ổ cứng SSD
    • Ổ cứng HDD
    • Ổ cứng mạng
    • Box ổ cứng

    Thương hiệu

    • APPLE
    • PITAKA
    • UAG
    • MIPOW
    • BELKIN
    • ZAGG
    • ESR
    • MOPHIE
    • INNOSTYLE
    • JCPAL
    • ANKER
    • DJI
    • MICROSOFT
    • ENERGIZER
    • AUKEY
    • MOCOLL
    • UNIQ
    • 9FIT
    • XTREM
    • TENDA
    • TP-LINK
    • IMOU
    • EZVIZ
    • SANDISK

    Thương hiệu khác

  • Gia dụng

    Thiết bị gia đình

    • Quạt
    • Bàn ủi
    • Máy hút bụi
    • Robot hút bụi
    • Bình giữ nhiệt
    • Nồi cơm điện
    • Nồi chiên không dầu
    • Máy xông tinh dầu
    • Máy lọc không khí

    Sức khoẻ và làm đẹp

    • Máy cắt tỉa
    • Bàn chải điện
    • Máy tăm nước
    • Máy massage
    • Máy cạo râu

    Thương hiệu

    • XIAOMI
    • DEERMA
    • TEFAL
    • HYDRO FLASK

    Thương hiệu khác

  • Hàng cũ

    Điện thoại cũ

    • iPhone cũ
      • iPhone 17
      • iPhone Air
      • iPhone 16 Series
      • iPhone 15 Series
      • iPhone 14 Series
      • iPhone 13 Series
      • iPhone 12 Series
      • iPhone 11 Series
      • iPhone X Series
    • Samsung cũ
      • Galaxy S Series
      • Galaxy Z Series
      • Galaxy A Series
    • Điện thoại cũ khác

    Máy tính bảng cũ

    • iPad cũ
    • Galaxy Tab cũ

    Laptop cũ

    • MacBook cũ
    • iMac cũ

    Đồng hồ thông minh cũ

    Phụ kiện cũ

    Âm thanh cũ

    • Loa cũ
    • Tai nghe cũ
  • Thu cũ
    Thu cũ
  • Kèo thơm
  • Ưu đãi

    Chương trình ưu đãi Tháng 05/2026

    • Sale 22.05 - 24.05 HOT
    • Khuyến mãi tháng 5 HOT
    • Ưu đãi Học sinh - Sinh viên HOT
    • Ưu đãi thanh toán HOT
    • Ưu đãi Laptop  
    • Ưu đãi Âm Thanh  
    • Ưu đãi Phụ Kiện  
    • Ưu đãi Gia Dụng  
    • Ưu đãi chỉ từ 39K HOT
  • Thông tin hay
  1. Trang chủ
  2. Thông tin hay
  3. Apple sẽ trang bị bàn phím bằng kính cảm ứng cho các...

Apple sẽ trang bị bàn phím bằng kính cảm ứng cho các mẫu MacBook Pro trong tương lai

Anthony 09/08/2022 21:08

Apple sẽ trang bị bàn phím bằng kính cảm ứng cho các mẫu MacBook Pro trong tương lai

Apple đã xem xét việc sử dụng các tấm kính đơn và màng cảm ứng để giải quyết các vấn đề về bàn phím cánh bướm và có thể sẽ áp dụng ý tưởng này cho một chiếc MacBook Pro trong tương lai.

Phụ kiện kém chất lượng gây hại cho các thiết bị Samsung
Apple đã tích hợp chìa khóa phòng khách sạn trên ví Wallet
Nên chọn iPhone có dung lượng bộ nhớ bao nhiêu là phù hợp?

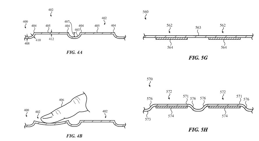
Do thiết kế của chúng, bàn phím có thể bị ảnh hưởng bởi các yếu tố tác động lên cơ chế, ngăn không cho các phím hạ xuống và nâng lên một cách êm ái khi nhấn. Trong khi bàn phím kiểu cũ ít bị ảnh hưởng hơn, bàn phím máy tính xách tay kiểu chiclet, giống như bàn phím được sử dụng trong dòng sản phẩm MacBook Pro, có thể dễ dàng ngừng hoạt động hiệu quả nếu bụi, mảnh vụn hoặc chất lỏng lọt vào bên dưới các phím và tác động đến cơ chế.

Vấn đề này là một lý do tại sao Apple giới thiệu cụ thể cơ chế bướm thế hệ thứ ba của mình. Đó là một màng silicone được sử dụng để chống bụi và giảm tiếng ồn khi gõ. Đó là vào năm 2018, nhưng một năm trước đó, Apple đã bắt đầu nộp đơn đăng ký bằng sáng chế cho một giải pháp khác. Ứng dụng và thiết kế đã trải qua nhiều lần sửa đổi, nhưng bây giờ bằng sáng chế có tên khá cơ bản là "Máy tính có bàn phím" đã được cấp.

Bàn phím cánh bướm

Hiện tại bàn phím cánh bướm đã biến mất sau một vụ kiện lâu dài về nó hiện đã được giải quyết. Do các mẫu MacBook Pro gần đây đã trở lại với cơ chế cắt kéo phổ biến hơn nhiều, Apple có thể sẽ tiếp tục với điều đó. Tuy nhiên, bàn phím bằng kính được mô tả trong bằng sáng chế mới được cấp có những lợi thế tiềm năng. Nó loại bỏ sự cần thiết của các phím lỏng lẻo hoặc một cơ chế chuyển đổi nào cả.

Bằng sáng chế thực sự mô tả cách một bàn phím có thể được tạo ra mà không cần các thành phần di chuyển. Trong đề xuất của Apple, một tấm kính sẽ được sử dụng thay cho các phím di động, với các phần nhô lên để biểu thị vị trí của mỗi phím. Khi người dùng nhấn xuống một trong các phần phím nhô lên, bàn phím sẽ phát hiện lực nhập vào "phím" đó và xử lý nó theo cách thông thường trong một ứng dụng.

Việc sử dụng các phím nhô cao sẽ cho phép bàn phím được đề xuất cung cấp một dạng phản hồi xúc giác cho người dùng, cho phép người dùng biết chính xác vị trí đặt ngón tay của họ so với tâm của mỗi phím. Mặc dù concept này tương tự như bàn phím ảo trên màn hình, chẳng hạn như trên điện thoại thông minh hoặc máy tính bảng, nhưng việc gõ trên bàn phím ảo sẽ khó hơn nhiều do không thể chạm vào các phím.

Để cung cấp một mức độ đàn hồi tương tự như độ lệch của phím thông thường, Apple đề xuất sử dụng một vách bên được nâng lên xung quanh vùng phím được nâng lên, có thể được định cấu hình để biến dạng khi đầu vào. Trong một số yếu tố, các phím có thể khóa lại, với một lớp bên dưới bao gồm các yếu tố để đẩy phím trở lại vị trí và phát hiện mỗi lần nhấn.

Bàn phím bằng kính

Vì bảng điều khiển là kính, điều này có thể cho phép xác định các ký hiệu chính bằng màn hình phụ ở phần dưới của máy tính xách tay, làm cho việc thay đổi bố cục bàn phím sang một ngôn ngữ khác hoặc một phiên bản ứng dụng cụ thể là tương đối đơn giản. Hơn nữa, các phần bên có thể được sử dụng như một dạng bàn di chuột cùng với phần tử bàn phím.

Mặc dù ý tưởng chắc chắn có thể loại bỏ khả năng bị lỗi cơ chế bàn phím bám bụi bẩn, nhưng nó cũng có một sản phẩm phụ là có khả năng làm cho bàn phím mỏng hơn nữa, cho phép trang bị pin lớn hơn hoặc cấu hình máy tính xách tay tổng thể mỏng hơn.

Khi Apple nộp một số đơn đăng ký bằng sáng chế hàng tuần, việc công bố một ý tưởng không phải là sự đảm bảo rằng khái niệm này sẽ xuất hiện trong một sản phẩm Apple trong tương lai, nhưng nó gợi ý những lĩnh vực mà Apple quan tâm.

Điều này khác xa so với bằng sáng chế dựa trên bàn phím đầu tiên mà Apple đã đăng ký. Vào tháng 3 năm 2018, công ty đã áp dụng cho một " bàn phím không phím " sử dụng màn hình cảm ứng thứ cấp tương tự ở phần dưới của bàn phím, nhưng nhiều cuộc thảo luận hơn về việc sử dụng các tấm cảm ứng phẳng hơn so với các phiên bản có các phần tử nâng lên hình bàn phím.

Bàn phím không phím

Vào tháng 2 cùng năm, Apple đã được cấp bằng sáng chế cho "Thiết bị hiển thị kép với khả năng hiển thị nâng cao và giảm phản xạ", một lần nữa đề xuất việc sử dụng màn hình OLED hỗ trợ cảm ứng làm bàn phím.

Vào tháng 8 năm 2018, một bộ ba hồ sơ có tên "Thiết bị có hệ thống giao diện tích hợp" phần lớn đề xuất việc sử dụng nhựa hoặc thủy tinh để thay đổi khu vực xung quanh của bàn phím MacBook và thậm chí cả bàn phím với khả năng cảm ứng.

Bằng sáng chế được ghi nhận cho ba nhà phát minh, bao gồm cả Paul X. Wang. Công việc liên quan trước đây của anh ấy bao gồm một đơn xin cấp bằng sáng chế liên quan đến việc sử dụng bàn phím thủy tinh cho sức mạnh.

MUA MACBOOK CHÍNH HÃNG GIÁ TỐT

Xem thêm

  • So sánh MacBook Neo và MacBook Air M1 chi tiết từ A đến Z
  • Ưu đãi sales khung giờ vàng: MacBook, iPad giảm đến 500k
  • Giảm giá iPhone 17 và sản phẩm Apple, đón hè chill cùng Minh Tuấn Mobile
  • Ưu đãi tháng 5 dành cho khách hàng làm việc khu công nghiệp
  • Sale mừng đại lễ trọn bộ siêu phẩm Apple giá sốc
  • Trải nghiệm MacBook Air M5: Có thực sự đáng tiền ở thời điểm hiện tại?
  • So sánh MacBook Air M5 và M4: 6 điểm khác biệt thực sự, nên chọn máy nào và mua cấu hình gì cho đúng
  • So sánh MacBook Pro M5 Pro và M5 Max: Đâu là lựa chọn phù hợp nhất
  • MacBook Pro M5 Pro và M5 Max có gì mới đáng nâng cấp?
  • Chọn MacBook Neo theo cung hoàng đạo và bản mệnh, Indigo hay Blush Pink?

Nguồn: AppleInsider

Tags: MacBook Mac

Share: FacebookTwitterPinterest

Mời bạn cùng thảo luận

Bạn chưa viết câu hỏi của mình hoặc ít hơn 15 ký tự.

Gửi câu hỏi

Bạn chưa nhập Họ & Tên

Bạn chưa nhập Điện thoại

Bạn chưa nhập Email

Bài viết cùng chủ đề

Xiaomi Gaming Mouse 2: Chuột eSports sở hữu cảm biến PixArt đầu bảng

Xiaomi Gaming Mouse 2: Chuột eSports sở hữu cảm biến PixArt đầu bảng

Micro DJI trình làng Mic Mini 2 thời trang ra mắt dành cho Content Creator

Micro DJI trình làng Mic Mini 2 thời trang ra mắt dành cho Content Creator

Test AirDrop Android sang iPhone 2026: OPPO, Samsung hay Vivo truyền nhanh hơn?

Test AirDrop Android sang iPhone 2026: OPPO, Samsung hay Vivo truyền nhanh hơn?

Anker ra mắt bộ sạc Anker Nano 45W nhỏ gọn

Anker ra mắt bộ sạc Anker Nano 45W nhỏ gọn

Xiaomi tung bộ đôi tai nghe REDMI mới, chống ồn cực đỉnh

Xiaomi tung bộ đôi tai nghe REDMI mới, chống ồn cực đỉnh

Redmi Turbo 6 Max sẽ ra mắt với pin khủng 12.000 mAh?

Redmi Turbo 6 Max sẽ ra mắt với pin khủng 12.000 mAh?

Tổng đài liên hệ (08h00 - 22h00)

Tư vấn mua hàng 18003355 Hỗ trợ kỹ thuật 18003355 Tư vấn bảo hành 0838335577 Phản ánh dịch vụ 0911335577 Tuyển dụng 0832335577

Liên hệ & mua hàng

  • Chăm sóc khách hàng: cskh@minhtuanmobile.com
  • Báo giá doanh nghiệp: doanhnghiep@minhtuanmobile.com

Chính sách bán hàng

  • Chính Sách Giao Hàng
  • Chính Sách & Quy Định Chung
  • Chính Sách Bảo Hành
  • Chính Sách Bảo Hành Hãng Apple
  • Chính Sách Bảo Hành Mở Rộng
  • Chính Sách Đổi Trả
  • Chính Sách Và Quy Định Hỗ Trợ Sao Lưu, Chuyển Đổi Dữ Liệu
  • Chính Sách Bảo Mật Và Xử Lý Dữ Liệu Cá Nhân
  • Quy Chế Hoạt Động
  • Khách hàng thân thiết

Thông tin, dịch vụ khác

  • Khách hàng doanh nghiệp
  • Thương hiệu phân phối
  • Kèo thơm
  • Trả góp
  • Thu Cũ Đổi Mới
  • Thông tin hay
  • Tuyển dụng

Hình thức thanh toán

Hình thức thanh toán

Liên kết với Minh Tuấn Mobile

  • ZALO Minh Tuấn Mobile

Online.gov.vn DMCA.com Protection Status

Công ty TNHH Minh Tuấn Mobile - GPĐKKD: 0316579658 do sở KH & ĐT TP. HCM cấp ngày 09/11/2020. Địa chỉ: 135/1/8 Nguyễn Hữu Cảnh, Phường Thạnh Mỹ Tây, Tp. Hồ Chí Minh. Điện thoại: 1800 3355 - 0838335577

Chịu trách nhiệm nội dung: Ngư Thị Dự

Copy LINK thành công.
Minh Tuấn Mobile Minh Tuấn Mobile
Thêm vào giỏ hàng thành công.

Liên hệ đặt hàng

  • Trang chủ
  • Danh mục
  • Cửa hàng
  • Thành viên
  • Xem thêm
Thu cũ
Thu cũThu cũ
Kèo thơm
Kèo thơm
Thông tin hay
Thông tin hay

iPhone

  • Dòng máy
  • iPhone Air
    iPhone Air
  • iPhone 17
    iPhone 17
  • iPhone 16
    iPhone 16
  • iPhone 15
    iPhone 15
  • iPhone 14
    iPhone 14
  • iPhone 13
    iPhone 13
  • Mức giá iPhone
  • Dưới 15 triệu
  • Từ 15 - 25 triệu
  • Từ 25 - 35 triệu
  • Trên 35 triệu

Điện Thoại

  • Samsung
  • Galaxy Z Series
    Galaxy Z Series
  • Galaxy S Series
    Galaxy S Series
  • Galaxy A Series
    Galaxy A Series
  • Realme
  • Realme
    Realme
  • Honor
  • HONOR
    HONOR
  • Xiaomi
  • Xiaomi
    Xiaomi
  • OPPO
  • OPPO
    OPPO
  • Nokia
  • Nokia
    Nokia

Mac

  • MacBook
  • MacBook Neo
    MacBook Neo
  • MacBook Air
    MacBook Air
  • MacBook Pro
    MacBook Pro
  • Mac
  • iMac
    iMac
  • Mac mini
    Mac mini
  • Mac Studio
    Mac Studio

Laptop

  • Thương hiệu
  • MSI
    MSI
  • Asus
    Asus
  • Lenovo
    Lenovo
  • Dell
    Dell
  • HP
    HP
  • Mức giá Laptop
  • Dưới 10 triệu
  • Từ 10 - 20 triệu
  • Từ 20 - 30 triệu

Tablet

  • iPad
  • iPad Air
    iPad Air
  • iPad Pro
    iPad Pro
  • iPad A16
    iPad A16
  • iPad Mini
    iPad Mini
  • iPad 11 inch
    iPad 11 inch
  • iPad 13 inch
    iPad 13 inch
  • Samsung
  • Galaxy Tab Series 10
    Galaxy Tab Series 10
  • Galaxy Tab Series 11
    Galaxy Tab Series 11
  • Galaxy Tab A11
    Galaxy Tab A11
  • Xiaomi
  • Xiaomi
    Xiaomi

Smartwatch

  • Apple Watch
  • Apple Watch SE
    Apple Watch SE
  • Apple Watch S11
    Apple Watch S11
  • Apple Watch Ultra
    Apple Watch Ultra
  • Galaxy Watch
  • Galaxy Watch8 Series
    Galaxy Watch8 Series
  • Galaxy Watch Ultra
    Galaxy Watch Ultra
  • Galaxy Fit3
    Galaxy Fit3
  • Thương hiệu khác
  • Xiaomi
    Xiaomi
  • SoundPeats
    SoundPeats
  • Garmin
    Garmin

Màn hình

  • Máy chiếu
  • MicroPack
    MicroPack
  • Mực in
  • i-Aicon
    i-Aicon
  • HP
    HP
  • Màn hình
  • SAMSUNG
    SAMSUNG
  • DELL
    DELL
  • AOC
    AOC
  • ViewSonic
    ViewSonic
  • PHILIPS
    PHILIPS
  • VSP
    VSP

Âm thanh

  • Chọn loại tai nghe
  • Tai nghe chụp tai
    Tai nghe chụp tai
  • Tai nghe có dây
    Tai nghe có dây
  • Tai nghe Bluetooth
    Tai nghe Bluetooth
  • Tai nghe gaming
    Tai nghe gaming
  • Tai nghe thể thao
    Tai nghe thể thao
  • Chọn loại loa
  • Loa Bluetooth
    Loa Bluetooth
  • Loa Karaoke
    Loa Karaoke
  • Loa nhỏ gọn
    Loa nhỏ gọn
  • Thương hiệu
  • Apple
    Apple
  • Samsung
    Samsung
  • B&O
    B&O
  • Bose
    Bose
  • Marshall
    Marshall
  • JBL
    JBL
  • Soundpeats
    Soundpeats
  • Havit
    Havit
  • Alpha Words
    Alpha Words
  • Sounarc
    Sounarc
  • Harman Kardon
    Harman/Kardon

Phụ kiện

  • Phụ kiện di động
  • Dán màn hình Dán cường lực
    Dán màn hình/ Dán cường lực
  • Ốp lưng Bao da
    Ốp lưng/ Bao da
  • Dán camera
    Dán camera
  • Adapter, củ sạc
    Adapter, củ sạc
  • Cáp sạc
    Cáp sạc
  • Pin sạc dự phòng
    Pin sạc dự phòng
  • Giá đỡ điện thoại
    Giá đỡ điện thoại
  • Gậy chụp ảnh
    Gậy chụp ảnh
  • Apple care +
    Apple care +
  • Sim số
    Sim số
  • Phụ kiện di động khác
    Phụ kiện di động khác
  • Phụ kiện Laptop
  • Chuột Bàn phím Bút
    Chuột/ Bàn phím/ Bút
  • Balo Túi chống sốc Túi đeo chéo
    Balo/ Túi chống sốc/ Túi đeo chéo
  • Sạc Laptop
    Sạc Laptop
  • Hub chuyển đổi
    Hub chuyển đổi
  • Phần mềm Microsoft
    Phần mềm Microsoft
  • Phủ phím
    Phủ phím
  • Dán màn hình
    Dán màn hình
  • Giá đỡ Laptop
    Giá đỡ Laptop
  • Camera
  • Camera hành động
    Camera hành động
  • Camera an ninh
    Camera an ninh
  • Camera hành trình
    Camera hành trình
  • Thiết bị lưu trữ
  • Ổ cứng SSD
    Ổ cứng SSD
  • Ổ cứng HDD
    Ổ cứng HDD
  • USB
    USB
  • Ổ cứng di động
    Ổ cứng di động
  • Thẻ nhớ
    Thẻ nhớ
  • Đầu đọc thẻ nhớ
    Đầu đọc thẻ nhớ

Gia dụng

  • Thiết bị gia đình
  • Quạt
    Quạt
  • Bàn ủi
    Bàn ủi
  • Máy xông tinh dầu
    Máy xông tinh dầu
  • Máy hút bụi
    Máy hút bụi
  • Bình giữ nhiệt
    Bình giữ nhiệt
  • Nồi cơm điện
    Nồi cơm điện
  • Nồi chiên không dầu
    Nồi chiên không dầu
  • Máy lọc không khí
    Máy lọc không khí
  • Robot hút bụi
    Robot hút bụi
  • Sức khoẻ và làm đẹp
  • Máy tăm nước
    Máy tăm nước
  • Máy massage
    Máy massage
  • Máy cạo râu
    Máy cạo râu
  • Máy cắt tỉa
    Máy cắt tỉa
  • Bàn chải điện
    Bàn chải điện
  • Thiết bị nhà thông minh
  • Máy lọc không khí
    Máy lọc không khí
  • Robot hút bụi
    Robot hút bụi
  • LifeStyle
  • Hydro Flask
    Hydro Flask
  • Balo - Túi chống shock
    Balo - Túi chống shock
  • Chăm sóc cá nhân
    Chăm sóc cá nhân
  • Phụ kiện khác
    Phụ kiện khác

Hàng cũ

  • Điện thoại cũ
  • iPhone cũ
    iPhone cũ
  • Samsung cũ
    Samsung cũ
  • Điện thoại cũ khác
    Điện thoại cũ khác
  • Laptop cũ
  • MacBook cũ
    MacBook cũ
  • iMac cũ
    iMac cũ
  • Máy tính bảng cũ
  • iPad cũ
    iPad cũ
  • Galaxy Tab cũ
    Galaxy Tab cũ
  • Âm thanh cũ
  • Loa cũ
    Loa cũ
  • Tai nghe cũ
    Tai nghe cũ
  • Phụ kiện cũ
  • Phụ kiện
    Phụ kiện
  • Đồng hồ thông minh cũ
  • Đồng hồ
    Đồng hồ

Thu cũ

Kèo thơm

Thông tin hay

Ưu đãi

  • Ưu đãi
  • Sale 22.05 - 24.05 hot
  • Ưu đãi Laptop
  • Ưu đãi Âm Thanh
  • Ưu đãi Phụ Kiện
  • Ưu đãi Gia Dụng
  • Ưu đãi chỉ từ 39K
  • Săn deal Tháng 5
  • Học sinh - Sinh viên
  • Ưu đãi thanh toán

Tổng đài liên hệ (08h00 - 22h00)

Tư vấn mua hàng 18003355 Hỗ trợ kỹ thuật 18003355 Tư vấn bảo hành 0838335577 Phản ánh dịch vụ 0911335577 Tuyển dụng 0832335577

Liên hệ & mua hàng

  • Chăm sóc khách hàng: cskh@minhtuanmobile.com
  • Báo giá doanh nghiệp: doanhnghiep@minhtuanmobile.com

Chính sách bán hàng

  • Chính Sách Giao Hàng
  • Chính Sách & Quy Định Chung
  • Chính Sách Bảo Hành
  • Chính Sách Bảo Hành Hãng Apple
  • Chính Sách Bảo Hành Mở Rộng
  • Chính Sách Đổi Trả
  • Chính Sách Và Quy Định Hỗ Trợ Sao Lưu, Chuyển Đổi Dữ Liệu
  • Chính Sách Bảo Mật Và Xử Lý Dữ Liệu Cá Nhân
  • Quy Chế Hoạt Động
  • Khách hàng thân thiết

Thông tin, dịch vụ khác

  • Khách hàng doanh nghiệp
  • Thương hiệu phân phối
  • Kèo thơm
  • Trả góp
  • Thu Cũ Đổi Mới
  • Thông tin hay
  • Tuyển dụng

Hình thức thanh toán

Hình thức thanh toán

Liên kết với Minh Tuấn Mobile

  • ZALO Minh Tuấn Mobile

Online.gov.vn DMCA.com Protection Status

Công ty TNHH Minh Tuấn Mobile - GPĐKKD: 0316579658 do sở KH & ĐT TP. HCM cấp ngày 09/11/2020. Địa chỉ: 135/1/8 Nguyễn Hữu Cảnh, Phường Thạnh Mỹ Tây, Tp. Hồ Chí Minh. Điện thoại: 1800 3355 - 0838335577

Chịu trách nhiệm nội dung: Ngư Thị Dự

  • Chat Zalo (8h00 - 22h00)
  • 18003355 (8h00 - 22h00)
  • Messenger (8h00 - 22h00)