Dùng Trước Trả Sau
Hệ thống cửa hàng điện thoại Minh Tuấn Mobile

 Xu hướng tìm kiếm

Galaxy S26 SeriesGalaxy S26 Series
AirTag 2 MớiAirTag 2 Mới
iPhone 17 sẵn hàngiPhone 17 sẵn hàng
MacBook Neo giá tốtMacBook Neo giá tốt
AirPods 4AirPods 4
iPhone Air sẵn hàngiPhone Air sẵn hàng
Apple Watch S11Apple Watch S11
Ốp lưng PitakaỐp lưng Pitaka
Osmo Pocket 4Osmo Pocket 4
Ốp lưng AppleỐp lưng Apple
Loa MarshallLoa Marshall
Cốc sạc AppleCốc sạc Apple
  • hotline18003355
  • Giỏ hàngcủa bạn
  • Kiểm tra đơn hàng
  • Hệ Thống Cửa hàng
  • tài khoản Đăng nhập
  • iPhone
    iPhone

    Dòng máy

    • iPhone Air
    • iPhone 17
    • iPhone 16
    • iPhone 15
    • iPhone 14
    • iPhone 13
  • Điện thoại

    Samsung

    • Galaxy Z Series
      • Galaxy Z7 Series
    • Galaxy S Series
      • Galaxy S26 Series
      • Galaxy S25 Series
    • Galaxy A Series

    Điện Thoại

    • OPPO
    • Xiaomi
    • HONOR
    • Realme
    • Nokia
  • Mac
    Mac

    MacBook

    • MacBook Neo Mới
    • MacBook Air
      • MacBook Air M5 Mới
      • MacBook Air 13 inch
      • MacBook Air 15 inch
    • MacBook Pro
      • MacBook Pro M5
      • MacBook Pro 14 inch
      • MacBook Pro 16 inch

    Mac

    • Mac mini
    • Mac Studio
    • iMac
  • Laptop

    ASUS

    DELL

    Lenovo

    HP

    MSI

  • Tablet
    Tablet

    iPad

    • iPad Air
      • iPad Air M4 Mới
      • iPad Air M3
    • iPad Pro
      • 11 inch
      • 13 inch
    • iPad A16
    • iPad Mini
    • iPad 11 inch
    • iPad 13 inch

    Galaxy Tab

    • Galaxy Tab Series 10
    • Galaxy Tab Series 11
    • Galaxy Tab A11

    Xiaomi

  • Smartwatch

    Apple Watch

    • Apple Watch S11
    • Apple Watch SE
      • Apple Watch SE 3
    • Apple Watch Ultra
      • Apple Watch Ultra 3

    Galaxy Watch

    • Galaxy Watch8 Series
    • Galaxy Watch Ultra
    • Galaxy Fit3

    Đồng hồ

    • Garmin
    • SoundPeats
    • Xiaomi
  • Màn hình

    Thương hiệu

    • Samsung
    • Dell
    • AOC
    • VIEWSONIC
    • PHILIPS
    • VSP
  • PC
  • Âm thanh

    Chọn loại tai nghe

    • Tai nghe chụp tai
    • Tai nghe có dây
    • Tai nghe Bluetooth
    • Tai nghe gaming
    • Tai nghe thể thao

    Chọn loại loa

    • Loa nhỏ gọn
    • Loa Karaoke
    • Loa Soundbar

    Micro

    Thương hiệu loa

    • Bang & Olufsen
    • Bose
    • Marshall
    • JBL
    • SoundPEATS
    • Sony
    • Alpha Works
    • Sounarc
    • Harman Kardon
    • Edifier
    • Thương hiệu khác

    Thương hiệu tai nghe

    • Apple
    • Samsung
    • Bang & Olufsen
    • Bose
    • Marshall
    • JBL
    • SoundPEATS
    • Havit
    • Alpha Works
    • NoThing
    • Earfun
    • Sony
    • QCY
    • Baseus
    • Thương hiệu khác
  • Phụ kiện

    Phụ kiện Apple

    • Ốp lưng Apple
    • Cốc sạc Apple
    • Cáp sạc Apple
    • Pencil Apple
    • Chuột Apple
    • Bàn phím Apple
    • Airtag

    Phụ kiện khác

    • Quạt cầm tay
    • Dây đeo đồng hồ
    • Ổ cắm điện

    Phụ kiện di động

    • Dán màn hình/ Dán cường lực
    • Ốp lưng/ Bao da
    • Dán camera
    • Adapter, củ sạc
    • Cáp sạc
    • Pin sạc dự phòng
    • Giá đỡ điện thoại
    • Gậy chụp ảnh
    • Apple care +
    • Bút cảm ứng
    • Sim số
    • Phụ kiện di động khác

    Thiết bị mạng

    Phụ kiện Laptop

    • Chuột
    • Bàn phím
    • Sạc Laptop
    • Balo/ Túi chống sốc/ Túi đeo chéo
    • Hub chuyển đổi
    • Phần mềm Microsoft
    • Phủ phím
    • Dán màn hình
    • Giá đỡ Laptop

    Camera

    • Camera hành động Mới
    • Camera hành trình
    • Camera an ninh

    Thiết bị lưu trữ

    • USB
    • Thẻ nhớ
    • Ổ cứng di động
    • Ổ cứng SSD
    • Ổ cứng HDD
    • Ổ cứng mạng
    • Box ổ cứng

    Thương hiệu

    • APPLE
    • PITAKA
    • UAG
    • MIPOW
    • BELKIN
    • ZAGG
    • ESR
    • MOPHIE
    • INNOSTYLE
    • JCPAL
    • ANKER
    • DJI
    • MICROSOFT
    • ENERGIZER
    • AUKEY
    • MOCOLL
    • UNIQ
    • 9FIT
    • XTREM
    • TENDA
    • TP-LINK
    • IMOU
    • EZVIZ
    • SANDISK

    Thương hiệu khác

  • Gia dụng

    Thiết bị gia đình

    • Quạt
    • Bàn ủi
    • Máy hút bụi
    • Robot hút bụi
    • Bình giữ nhiệt
    • Nồi cơm điện
    • Nồi chiên không dầu
    • Máy xông tinh dầu
    • Máy lọc không khí

    Sức khoẻ và làm đẹp

    • Máy cắt tỉa
    • Bàn chải điện
    • Máy tăm nước
    • Máy massage
    • Máy cạo râu

    Thương hiệu

    • XIAOMI
    • DEERMA
    • TEFAL
    • HYDRO FLASK

    Thương hiệu khác

  • Hàng cũ

    Điện thoại cũ

    • iPhone cũ
      • iPhone 17
      • iPhone Air
      • iPhone 16 Series
      • iPhone 15 Series
      • iPhone 14 Series
      • iPhone 13 Series
      • iPhone 12 Series
      • iPhone 11 Series
      • iPhone X Series
    • Samsung cũ
      • Galaxy S Series
      • Galaxy Z Series
      • Galaxy A Series
    • Điện thoại cũ khác

    Máy tính bảng cũ

    • iPad cũ
    • Galaxy Tab cũ

    Laptop cũ

    • MacBook cũ
    • iMac cũ

    Đồng hồ thông minh cũ

    Phụ kiện cũ

    Âm thanh cũ

    • Loa cũ
    • Tai nghe cũ
  • Thu cũ
    Thu cũ
  • Kèo thơm
  • Ưu đãi

    Chương trình ưu đãi Tháng 04/2026

    • Deals phụ kiện  
    • Deals âm thanh  
    • Deals sản phẩm công nghệ  
    • Deals sản phẩm gia dụng  
    • Khuyến mãi tháng 4 HOT
    • Ưu đãi Học sinh - Sinh viên HOT
    • Ưu đãi thanh toán HOT
  • Thông tin hay
  1. Trang chủ
  2. Thông tin hay
  3. Lộ bằng chứng cho thấy iPhone màn hinh cuộn gần hoàn...

Lộ bằng chứng cho thấy iPhone màn hinh cuộn gần hoàn thiện

kayden 14/07/2023 16:16

Lộ bằng chứng cho thấy iPhone màn hinh cuộn gần hoàn thiện

Theo một bằng sáng chế mới được công bố ngày 13.7, Apple có thể đang tích cực phát triển một chiếc iPhone có màn hình cuộn.

Thiếu tính năng khử tiếng ồn trên iPhone 13 5G là do lỗi?
Hướng dẫn đóng tiền điện, nước online cực dễ
Cách xóa ảnh trùng lặp trong macOS Ventura cực nhanh chóng

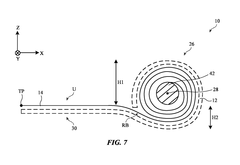
Vào tháng 5/2023, đã có nhiều thông tin về việc Apple đã nộp đơn xin cấp bằng sáng chế mới về một chiếc màn hình cuộn với tên gọi "Thiết bị điện tử có màn hình cuộn". Bây giờ, bằng sáng chế này đã được công bố để những người yêu thích công nghệ có thể hiểu rõ hơn về phát minh mới mà nhà Táo đang tích cực phát triển.  

Lộ bằng chứng cho thấy iPhone màn hinh cuộn gần hoàn thiện

Theo bằng sáng chế, màn hình có thể được sử dụng ở 2 trạng thái: cuộn ra hoàn toàn và cuộn lại một phần. Chiếc màn hình này sẽ có 3 lớp cấu tạo bao gồm 1 bảng điều khiển, mảng pixel để tạo ra hình ảnh và cuối cùng là một lớp bảo vệ trong suốt phủ trên bề mặt. Theo Apple, lớp bảo vệ này sẽ có chất liệu bằng kính, được làm mỏng ở phần cuộn để thiết bị có thể cuộn lại một cách dễ dàng. 

Apple có thể đang bí mật phát triển iPhone có màn hình cuộn

Bằng sáng chế cũng đề cập đến một số tính năng khác, chẳng hạn như khả năng hiển thị nhiều ứng dụng cùng lúc hoặc xem video ở chế độ toàn màn hình. Apple hiện chưa xác nhận liệu họ có kế hoạch phát hành iPhone có màn hình cuộn hay không, nhưng bằng sáng chế trên cho thấy rằng họ đang tích cực nghiên cứu công nghệ này. 

Apple có thể đang bí mật phát triển iPhone có màn hình cuộn

Nếu chiếc iPhone này được ra mắt, nó sẽ là một bước đột phá lớn trong thế giới công nghệ, thay đổi hoàn toàn cách con người sử dụng điện thoại thông minh. Màn hình cuộn sẽ có thể cung cấp nhiều khả năng mới hơn cho người dùng, chẳng hạn như khả năng xem video ở chế độ toàn màn hình mà không cần phải cầm điện thoại theo chiều dọc. Nó cũng cho phép sử dụng nhiều ứng dụng cùng lúc mà không cần phải chuyển đổi giữa chúng.

Bằng sáng chế mới nhất này cũng ghi công 2 nhà phát minh Que Anh S Nguyen và Christopher D Jones. Công việc trước đây của Nguyen bao gồm nghiên cứu về việc tăng cường màn hình iPhone, trong khi Jones đã làm việc trên các hệ thống tự động phát hiện các vết nứt và hư hỏng màn hình.

Xem thêm

  • Cách dùng trợ năng AssistiveTouch trên iPhone từ A-Z
  • Sale mừng đại lễ trọn bộ siêu phẩm Apple giá sốc
  • Chương trình giảm giá khung giờ vàng iPhone 17 Pro Max 256GB Silver
  • Đánh giá sức mạnh Apple N1, phân tích hiệu suất kết nối mạng
  • iPad Air M4 cập nhật RAM 12GB: Có đáng để nâng cấp không?
  • MacBook Pro M5 Pro và M5 Max có gì mới đáng nâng cấp?
  • Action Button là gì? Hướng dẫn tùy chỉnh tính năng, mẹo tối ưu hóa đa tác vụ
  • Apple Intelligence là gì? Hướng dẫn sử dụng và cam kết bảo mật dữ liệu
  • Ceramic Shield 2 là gì? Phiên bản cải tiến bảo vệ màn hình iPhone và những lưu ý cần nắm
  • MacBook Neo “cân mượt” 50 tab Chrome và Excel nặng với 8GB RAM băng thông 60GBs

Tags: Apple iPhone

Share: FacebookTwitterPinterest

Mời bạn cùng thảo luận

Bạn chưa viết câu hỏi của mình hoặc ít hơn 15 ký tự.

Gửi câu hỏi

Bạn chưa nhập Họ & Tên

Bạn chưa nhập Điện thoại

Bạn chưa nhập Email

Bài viết cùng chủ đề

Spatial Audio là gì? Trải nghiệm công nghệ âm thanh không gian

Spatial Audio là gì? Trải nghiệm công nghệ âm thanh không gian

iPad Air M4 cập nhật RAM 12GB: Có đáng để nâng cấp không?

iPad Air M4 cập nhật RAM 12GB: Có đáng để nâng cấp không?

MacBook Pro M5 Pro và M5 Max có gì mới đáng nâng cấp?

MacBook Pro M5 Pro và M5 Max có gì mới đáng nâng cấp?

MacBook Air M5 có những nâng cấp đáng chú ý nào? Đánh giá chi tiết

MacBook Air M5 có những nâng cấp đáng chú ý nào? Đánh giá chi tiết

Neural Engine là gì? Vai trò của nhân AI trong việc tối ưu hóa hiệu suất và bảo mật

Neural Engine là gì? Vai trò của nhân AI trong việc tối ưu hóa hiệu suất và bảo mật

Always On Display là gì và cách tối ưu hóa tính năng màn hình luôn hiển thị hiệu quả nhất

Always On Display là gì và cách tối ưu hóa tính năng màn hình luôn hiển thị hiệu quả nhất

Tổng đài liên hệ (08h00 - 22h00)

Tư vấn mua hàng 18003355 Hỗ trợ kỹ thuật 18003355 Tư vấn bảo hành 0838335577 Phản ánh dịch vụ 0911335577 Tuyển dụng 0832335577

Liên hệ & mua hàng

  • Chăm sóc khách hàng: cskh@minhtuanmobile.com
  • Báo giá doanh nghiệp: doanhnghiep@minhtuanmobile.com

Chính sách bán hàng

  • Chính Sách Giao Hàng
  • Chính Sách & Quy Định Chung
  • Chính Sách Bảo Hành
  • Chính Sách Bảo Hành Hãng Apple
  • Chính Sách Bảo Hành Mở Rộng
  • Chính Sách Đổi Trả
  • Chính Sách Và Quy Định Hỗ Trợ Sao Lưu, Chuyển Đổi Dữ Liệu
  • Chính Sách Bảo Mật Và Xử Lý Dữ Liệu Cá Nhân
  • Quy Chế Hoạt Động
  • Khách hàng thân thiết

Thông tin, dịch vụ khác

  • Khách hàng doanh nghiệp
  • Thương hiệu phân phối
  • Kèo thơm
  • Trả góp
  • Thu Cũ Đổi Mới
  • Thông tin hay
  • Tuyển dụng

Hình thức thanh toán

Hình thức thanh toán

Liên kết với Minh Tuấn Mobile

  • ZALO Minh Tuấn Mobile

Online.gov.vn DMCA.com Protection Status

Công ty TNHH Minh Tuấn Mobile - GPĐKKD: 0316579658 do sở KH & ĐT TP. HCM cấp ngày 09/11/2020. Địa chỉ: 135/1/8 Nguyễn Hữu Cảnh, Phường Thạnh Mỹ Tây, Tp. Hồ Chí Minh. Điện thoại: 1800 3355 - 0838335577

Chịu trách nhiệm nội dung: Ngư Thị Dự

Copy LINK thành công.
Minh Tuấn Mobile Minh Tuấn Mobile
Thêm vào giỏ hàng thành công.

Liên hệ đặt hàng

  • Trang chủ
  • Danh mục
  • Cửa hàng
  • Thành viên
  • Xem thêm
Thu cũ
Thu cũThu cũ
Kèo thơm
Kèo thơm
Thông tin hay
Thông tin hay

iPhone

  • Dòng máy
  • iPhone Air
    iPhone Air
  • iPhone 17
    iPhone 17
  • iPhone 16
    iPhone 16
  • iPhone 15
    iPhone 15
  • iPhone 14
    iPhone 14
  • iPhone 13
    iPhone 13
  • Mức giá iPhone
  • Dưới 15 triệu
  • Từ 15 - 25 triệu
  • Từ 25 - 35 triệu
  • Trên 35 triệu

Điện Thoại

  • Samsung
  • Galaxy Z Series
    Galaxy Z Series
  • Galaxy S Series
    Galaxy S Series
  • Galaxy A Series
    Galaxy A Series
  • Realme
  • Realme
    Realme
  • Honor
  • HONOR
    HONOR
  • Xiaomi
  • Xiaomi
    Xiaomi
  • OPPO
  • OPPO
    OPPO
  • Nokia
  • Nokia
    Nokia

Mac

  • MacBook
  • MacBook Neo
    MacBook Neo
  • MacBook Air
    MacBook Air
  • MacBook Pro
    MacBook Pro
  • Mac
  • iMac
    iMac
  • Mac mini
    Mac mini
  • Mac Studio
    Mac Studio

Laptop

  • Thương hiệu
  • MSI
    MSI
  • Asus
    Asus
  • Lenovo
    Lenovo
  • Dell
    Dell
  • HP
    HP
  • Mức giá Laptop
  • Dưới 10 triệu
  • Từ 10 - 20 triệu
  • Từ 20 - 30 triệu

Tablet

  • iPad
  • iPad Air
    iPad Air
  • iPad Pro
    iPad Pro
  • iPad A16
    iPad A16
  • iPad Mini
    iPad Mini
  • iPad 11 inch
    iPad 11 inch
  • iPad 13 inch
    iPad 13 inch
  • Samsung
  • Galaxy Tab Series 10
    Galaxy Tab Series 10
  • Galaxy Tab Series 11
    Galaxy Tab Series 11
  • Galaxy Tab A11
    Galaxy Tab A11
  • Xiaomi
  • Xiaomi
    Xiaomi

Smartwatch

  • Apple Watch
  • Apple Watch SE
    Apple Watch SE
  • Apple Watch S11
    Apple Watch S11
  • Apple Watch Ultra
    Apple Watch Ultra
  • Galaxy Watch
  • Galaxy Watch8 Series
    Galaxy Watch8 Series
  • Galaxy Watch Ultra
    Galaxy Watch Ultra
  • Galaxy Fit3
    Galaxy Fit3
  • Thương hiệu khác
  • Xiaomi
    Xiaomi
  • SoundPeats
    SoundPeats
  • Garmin
    Garmin

Màn hình

  • Thương hiệu
  • SAMSUNG
    SAMSUNG
  • DELL
    DELL
  • AOC
    AOC
  • ViewSonic
    ViewSonic
  • PHILIPS
    PHILIPS
  • VSP
    VSP

Âm thanh

  • Chọn loại tai nghe
  • Tai nghe chụp tai
    Tai nghe chụp tai
  • Tai nghe có dây
    Tai nghe có dây
  • Tai nghe Bluetooth
    Tai nghe Bluetooth
  • Tai nghe gaming
    Tai nghe gaming
  • Tai nghe thể thao
    Tai nghe thể thao
  • Chọn loại loa
  • Loa Bluetooth
    Loa Bluetooth
  • Loa Karaoke
    Loa Karaoke
  • Loa nhỏ gọn
    Loa nhỏ gọn
  • Thương hiệu
  • Apple
    Apple
  • Samsung
    Samsung
  • B&O
    B&O
  • Bose
    Bose
  • Marshall
    Marshall
  • JBL
    JBL
  • Soundpeats
    Soundpeats
  • Havit
    Havit
  • Alpha Words
    Alpha Words
  • Sounarc
    Sounarc
  • Harman Kardon
    Harman/Kardon

Phụ kiện

  • Phụ kiện di động
  • Dán màn hình Dán cường lực
    Dán màn hình/ Dán cường lực
  • Ốp lưng Bao da
    Ốp lưng/ Bao da
  • Dán camera
    Dán camera
  • Adapter, củ sạc
    Adapter, củ sạc
  • Cáp sạc
    Cáp sạc
  • Pin sạc dự phòng
    Pin sạc dự phòng
  • Giá đỡ điện thoại
    Giá đỡ điện thoại
  • Gậy chụp ảnh
    Gậy chụp ảnh
  • Apple care +
    Apple care +
  • Sim số
    Sim số
  • Phụ kiện di động khác
    Phụ kiện di động khác
  • Phụ kiện Laptop
  • Chuột Bàn phím Bút
    Chuột/ Bàn phím/ Bút
  • Balo Túi chống sốc Túi đeo chéo
    Balo/ Túi chống sốc/ Túi đeo chéo
  • Sạc Laptop
    Sạc Laptop
  • Hub chuyển đổi
    Hub chuyển đổi
  • Phần mềm Microsoft
    Phần mềm Microsoft
  • Phủ phím
    Phủ phím
  • Dán màn hình
    Dán màn hình
  • Giá đỡ Laptop
    Giá đỡ Laptop
  • Camera
  • Camera an ninh
    Camera an ninh
  • Camera hành trình
    Camera hành trình
  • Thiết bị lưu trữ
  • Ổ cứng SSD
    Ổ cứng SSD
  • Ổ cứng HDD
    Ổ cứng HDD
  • USB
    USB
  • Ổ cứng di động
    Ổ cứng di động
  • Thẻ nhớ
    Thẻ nhớ
  • Đầu đọc thẻ nhớ
    Đầu đọc thẻ nhớ

Gia dụng

  • Thiết bị gia đình
  • Quạt
    Quạt
  • Bàn ủi
    Bàn ủi
  • Máy xông tinh dầu
    Máy xông tinh dầu
  • Máy hút bụi
    Máy hút bụi
  • Bình giữ nhiệt
    Bình giữ nhiệt
  • Nồi cơm điện
    Nồi cơm điện
  • Nồi chiên không dầu
    Nồi chiên không dầu
  • Máy lọc không khí
    Máy lọc không khí
  • Robot hút bụi
    Robot hút bụi
  • Sức khoẻ và làm đẹp
  • Máy tăm nước
    Máy tăm nước
  • Máy massage
    Máy massage
  • Máy cạo râu
    Máy cạo râu
  • Máy cắt tỉa
    Máy cắt tỉa
  • Bàn chải điện
    Bàn chải điện
  • Thiết bị nhà thông minh
  • Máy lọc không khí
    Máy lọc không khí
  • Robot hút bụi
    Robot hút bụi
  • LifeStyle
  • Hydro Flask
    Hydro Flask
  • Balo - Túi chống shock
    Balo - Túi chống shock
  • Chăm sóc cá nhân
    Chăm sóc cá nhân
  • Phụ kiện khác
    Phụ kiện khác

Hàng cũ

  • Điện thoại cũ
  • iPhone cũ
    iPhone cũ
  • Samsung cũ
    Samsung cũ
  • Điện thoại cũ khác
    Điện thoại cũ khác
  • Laptop cũ
  • MacBook cũ
    MacBook cũ
  • iMac cũ
    iMac cũ
  • Máy tính bảng cũ
  • iPad cũ
    iPad cũ
  • Galaxy Tab cũ
    Galaxy Tab cũ
  • Âm thanh cũ
  • Loa cũ
    Loa cũ
  • Tai nghe cũ
    Tai nghe cũ
  • Phụ kiện cũ
  • Phụ kiện
    Phụ kiện
  • Đồng hồ thông minh cũ
  • Đồng hồ
    Đồng hồ

Thu cũ

Kèo thơm

Thông tin hay

Ưu đãi

  • Ưu đãi
  • Săn deal Tháng 04
  • Deals phụ kiện
  • Deals âm thanh
  • Deals công nghệ
  • Deals gia dụng
  • Học sinh - Sinh viên
  • Ưu đãi thanh toán

Tổng đài liên hệ (08h00 - 22h00)

Tư vấn mua hàng 18003355 Hỗ trợ kỹ thuật 18003355 Tư vấn bảo hành 0838335577 Phản ánh dịch vụ 0911335577 Tuyển dụng 0832335577

Liên hệ & mua hàng

  • Chăm sóc khách hàng: cskh@minhtuanmobile.com
  • Báo giá doanh nghiệp: doanhnghiep@minhtuanmobile.com

Chính sách bán hàng

  • Chính Sách Giao Hàng
  • Chính Sách & Quy Định Chung
  • Chính Sách Bảo Hành
  • Chính Sách Bảo Hành Hãng Apple
  • Chính Sách Bảo Hành Mở Rộng
  • Chính Sách Đổi Trả
  • Chính Sách Và Quy Định Hỗ Trợ Sao Lưu, Chuyển Đổi Dữ Liệu
  • Chính Sách Bảo Mật Và Xử Lý Dữ Liệu Cá Nhân
  • Quy Chế Hoạt Động
  • Khách hàng thân thiết

Thông tin, dịch vụ khác

  • Khách hàng doanh nghiệp
  • Thương hiệu phân phối
  • Kèo thơm
  • Trả góp
  • Thu Cũ Đổi Mới
  • Thông tin hay
  • Tuyển dụng

Hình thức thanh toán

Hình thức thanh toán

Liên kết với Minh Tuấn Mobile

  • ZALO Minh Tuấn Mobile

Online.gov.vn DMCA.com Protection Status

Công ty TNHH Minh Tuấn Mobile - GPĐKKD: 0316579658 do sở KH & ĐT TP. HCM cấp ngày 09/11/2020. Địa chỉ: 135/1/8 Nguyễn Hữu Cảnh, Phường Thạnh Mỹ Tây, Tp. Hồ Chí Minh. Điện thoại: 1800 3355 - 0838335577

Chịu trách nhiệm nội dung: Ngư Thị Dự

  • Chat Zalo (8h00 - 22h00)
  • 18003355 (8h00 - 22h00)
  • Messenger (8h00 - 22h00)