Dùng Trước Trả Sau
Hệ thống cửa hàng điện thoại Minh Tuấn Mobile

 Xu hướng tìm kiếm

Galaxy S26 SeriesGalaxy S26 Series
AirTag 2 MớiAirTag 2 Mới
iPhone 17 sẵn hàngiPhone 17 sẵn hàng
MacBook Neo giá tốtMacBook Neo giá tốt
AirPods 4AirPods 4
iPhone Air sẵn hàngiPhone Air sẵn hàng
Apple Watch S11Apple Watch S11
Ốp lưng PitakaỐp lưng Pitaka
Osmo Pocket 4Osmo Pocket 4
Ốp lưng AppleỐp lưng Apple
Loa MarshallLoa Marshall
Cốc sạc AppleCốc sạc Apple
  • hotline18003355
  • Giỏ hàngcủa bạn
  • Kiểm tra đơn hàng
  • Hệ Thống Cửa hàng
  • tài khoản Đăng nhập
  • iPhone
    iPhone

    Dòng máy

    • iPhone Air
    • iPhone 17
    • iPhone 16
    • iPhone 15
    • iPhone 14
    • iPhone 13
  • Điện thoại

    Samsung

    • Galaxy Z Series
      • Galaxy Z7 Series
    • Galaxy S Series
      • Galaxy S26 Series
      • Galaxy S25 Series
    • Galaxy A Series

    Điện Thoại

    • OPPO
    • Xiaomi
    • HONOR
    • Realme
    • Nokia
  • Mac
    Mac

    MacBook

    • MacBook Neo Mới
    • MacBook Air
      • MacBook Air M5 Mới
      • MacBook Air 13 inch
      • MacBook Air 15 inch
    • MacBook Pro
      • MacBook Pro M5
      • MacBook Pro 14 inch
      • MacBook Pro 16 inch

    Mac

    • Mac mini
    • Mac Studio
    • iMac
  • Laptop

    ASUS

    DELL

    Lenovo

    HP

    MSI

  • Tablet
    Tablet

    iPad

    • iPad Air
      • iPad Air M4 Mới
      • iPad Air M3
    • iPad Pro
      • 11 inch
      • 13 inch
    • iPad A16
    • iPad Mini
    • iPad 11 inch
    • iPad 13 inch

    Galaxy Tab

    • Galaxy Tab Series 10
    • Galaxy Tab Series 11
    • Galaxy Tab A11

    Xiaomi

  • Smartwatch

    Apple Watch

    • Apple Watch S11
    • Apple Watch SE
      • Apple Watch SE 3
    • Apple Watch Ultra
      • Apple Watch Ultra 3

    Galaxy Watch

    • Galaxy Watch8 Series
    • Galaxy Watch Ultra
    • Galaxy Fit3

    Đồng hồ

    • Garmin
    • SoundPeats
    • Xiaomi
  • Màn hình

    Màn hình

    • Samsung
    • Dell
    • AOC
    • VIEWSONIC
    • PHILIPS
    • VSP

    Máy chiếu

    • MicroPack

    Mực in

    • i-Aicon
    • HP
  • PC
  • Âm thanh

    Chọn loại tai nghe

    • Tai nghe chụp tai
    • Tai nghe có dây
    • Tai nghe Bluetooth
    • Tai nghe gaming
    • Tai nghe thể thao

    Chọn loại loa

    • Loa nhỏ gọn
    • Loa Karaoke
    • Loa Soundbar

    Micro

    Thương hiệu loa

    • Bang & Olufsen
    • Bose
    • Marshall
    • JBL
    • SoundPEATS
    • Sony
    • Alpha Works
    • Sounarc
    • Harman Kardon
    • Edifier
    • Thương hiệu khác

    Thương hiệu tai nghe

    • Apple
    • Samsung
    • Bang & Olufsen
    • Bose
    • Marshall
    • JBL
    • SoundPEATS
    • Havit
    • Alpha Works
    • NoThing
    • Earfun
    • Sony
    • QCY
    • Baseus
    • Thương hiệu khác
  • Phụ kiện

    Phụ kiện Apple

    • Ốp lưng Apple
    • Cốc sạc Apple
    • Cáp sạc Apple
    • Pencil Apple
    • Chuột Apple
    • Bàn phím Apple
    • Airtag

    Phụ kiện khác

    • Quạt cầm tay
    • Dây đeo đồng hồ
    • Ổ cắm điện

    Phụ kiện di động

    • Dán màn hình/ Dán cường lực
    • Ốp lưng/ Bao da
    • Dán camera
    • Adapter, củ sạc
    • Cáp sạc
    • Pin sạc dự phòng
    • Giá đỡ điện thoại
    • Gậy chụp ảnh
    • Apple care +
    • Bút cảm ứng
    • Sim số
    • Phụ kiện di động khác

    Thiết bị mạng

    Phụ kiện Laptop

    • Chuột
    • Bàn phím
    • Sạc Laptop
    • Balo/ Túi chống sốc/ Túi đeo chéo
    • Hub chuyển đổi
    • Phần mềm Microsoft
    • Phủ phím
    • Dán màn hình
    • Giá đỡ Laptop

    Camera

    • Camera hành động Mới
    • Camera hành trình
    • Camera an ninh

    Thiết bị lưu trữ

    • USB
    • Thẻ nhớ
    • Ổ cứng di động
    • Ổ cứng SSD
    • Ổ cứng HDD
    • Ổ cứng mạng
    • Box ổ cứng

    Thương hiệu

    • APPLE
    • PITAKA
    • UAG
    • MIPOW
    • BELKIN
    • ZAGG
    • ESR
    • MOPHIE
    • INNOSTYLE
    • JCPAL
    • ANKER
    • DJI
    • MICROSOFT
    • ENERGIZER
    • AUKEY
    • MOCOLL
    • UNIQ
    • 9FIT
    • XTREM
    • TENDA
    • TP-LINK
    • IMOU
    • EZVIZ
    • SANDISK

    Thương hiệu khác

  • Gia dụng

    Thiết bị gia đình

    • Quạt
    • Bàn ủi
    • Máy hút bụi
    • Robot hút bụi
    • Bình giữ nhiệt
    • Nồi cơm điện
    • Nồi chiên không dầu
    • Máy xông tinh dầu
    • Máy lọc không khí

    Sức khoẻ và làm đẹp

    • Máy cắt tỉa
    • Bàn chải điện
    • Máy tăm nước
    • Máy massage
    • Máy cạo râu

    Thương hiệu

    • XIAOMI
    • DEERMA
    • TEFAL
    • HYDRO FLASK

    Thương hiệu khác

  • Hàng cũ

    Điện thoại cũ

    • iPhone cũ
      • iPhone 17
      • iPhone Air
      • iPhone 16 Series
      • iPhone 15 Series
      • iPhone 14 Series
      • iPhone 13 Series
      • iPhone 12 Series
      • iPhone 11 Series
      • iPhone X Series
    • Samsung cũ
      • Galaxy S Series
      • Galaxy Z Series
      • Galaxy A Series
    • Điện thoại cũ khác

    Máy tính bảng cũ

    • iPad cũ
    • Galaxy Tab cũ

    Laptop cũ

    • MacBook cũ
    • iMac cũ

    Đồng hồ thông minh cũ

    Phụ kiện cũ

    Âm thanh cũ

    • Loa cũ
    • Tai nghe cũ
  • Thu cũ
    Thu cũ
  • Kèo thơm
  • Ưu đãi

    Chương trình ưu đãi Tháng 05/2026

    • Khuyến mãi tháng 5 HOT
    • Ưu đãi Học sinh - Sinh viên HOT
    • Ưu đãi thanh toán HOT
    • Ưu đãi khách hàng Khu Công Nghiệp HOT
    • Ưu đãi Laptop  
    • Ưu đãi Âm Thanh  
    • Ưu đãi Phụ Kiện  
    • Ưu đãi Gia Dụng  
  • Thông tin hay
  1. Trang chủ
  2. Thông tin hay
  3. Apple đã được cấp bằng sáng chế về cảm biến...

Apple đã được cấp bằng sáng chế về cảm biến nhiệt độ trên Apple Watch

tuyenkimle24 11/08/2022 01:00

Apple đã được cấp bằng sáng chế về cảm biến nhiệt độ trên Apple Watch

Apple đã được cấp bằng sáng chế cho cảm biến nhiệt độ phù hợp với Apple Watch với tốc độ nhanh chóng chỉ vài tuần trước khi công ty dự kiến ​​sẽ trình làng Apple Watch Series 8 với khả năng cảm biến nhiệt độ cơ thể.

Bằng sáng chế mới đã được nộp cho Văn phòng Sáng chế và Nhãn hiệu Hoa Kỳ và có tiêu đề "Cảm biến gradient nhiệt độ trong các thiết bị điện tử." Mặc dù từ ngữ của bằng sáng chế gợi ý rằng nó có thể áp dụng cho bất kỳ thiết bị nào, nhưng thiết bị duy nhất được mô tả trong các hình minh họa của bằng sáng chế rõ ràng là Apple Watch, có khả năng gợi ý về ứng dụng cụ thể mà Apple đang nghĩ đến cho công nghệ.

bằng sáng chế cảm biến nhiệt độ đồng hồ apple

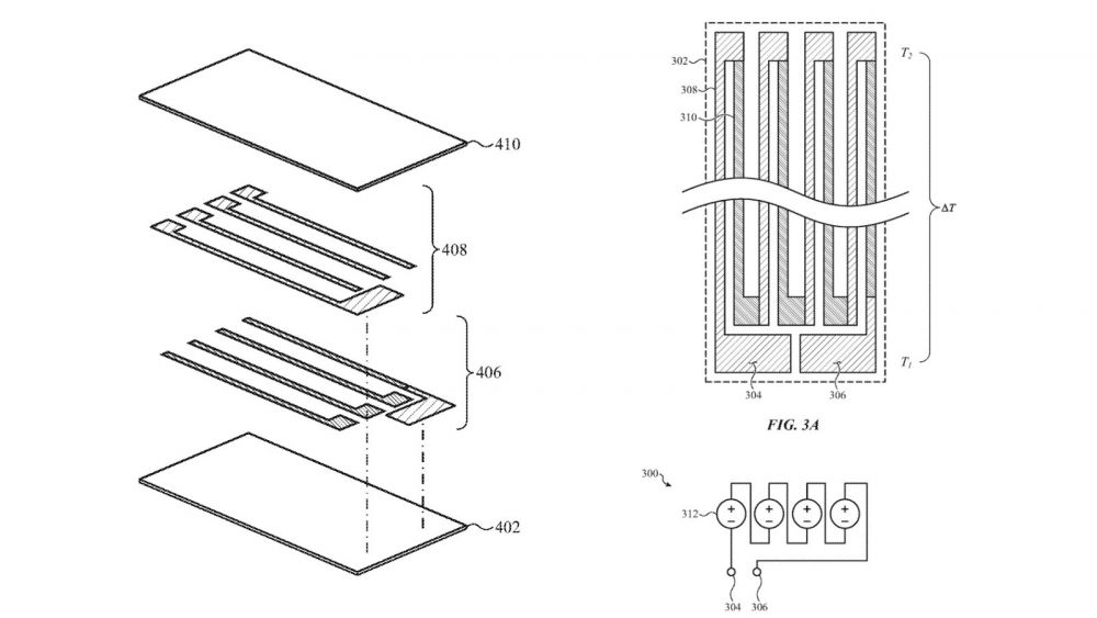
Bằng sáng chế của Apple bảo vệ vỏ thiết bị điện tử bao gồm hệ thống cảm biến nhiệt độ bao gồm cảm biến nhiệt độ và đầu dò nhiệt độ chênh lệch. Hệ thống hoạt động bằng cách tính toán sự khác biệt giữa hai đầu của một đầu dò. Một đầu chạm vào bề mặt cần đo, đầu kia được kết nối với cảm biến nhiệt độ. Khi đó, sự khác biệt về điện áp trên các đầu khác nhau của đầu dò có thể tương quan với phép đo nhiệt độ chênh lệch.

Đầu dò nhiệt độ được cấu hình để tạo ra điện áp tương ứng với gradien nhiệt độ giữa đầu thứ nhất của đầu dò và đầu thứ hai của đầu dò. Cảm biến nhiệt độ có thể được bố trí trong vỏ thiết bị điện tử. Một đầu đầu tiên của đầu dò có thể được ghép với cảm biến nhiệt độ và đầu thứ hai của đầu dò có thể được ghép nối với bất kỳ bề mặt thích hợp nào, cho dù bên trong hay bên ngoài, của thiết bị điện tử... Trong cấu trúc này, cảm biến nhiệt độ có thể được cấu hình để đo nhiệt độ, tại bất kỳ thời gian lấy mẫu nào hoặc tốc độ lấy mẫu nào, của bất kỳ bề mặt hoặc thể tích nào mà bề mặt cảm biến tiếp xúc với.

Bằng sáng chế tiếp tục giải thích chi tiết kỹ thuật cách hoạt động của phần cứng cảm biến nhiệt độ. Điều quan trọng, trong khi bằng sáng chế đề cập đến cách một cảm biến nhiệt độ chuyên dụng có thể được sử dụng bên trong một thiết bị để theo dõi nhiệt độ của một bộ phận như bộ xử lý, cảm biến có thể được sử dụng để đo "nhiệt độ tuyệt đối" của bề mặt bên ngoài, chẳng hạn như da.

Đáng chú ý nhất, Apple đề cập rõ ràng về cách vị trí của đầu dò bên ngoài có thể nằm trên "bề mặt sau, chẳng hạn như mặt sau của đồng hồ thông minh" và cho biết hệ thống này bao gồm "cảm biến nhiệt độ tuyệt đối có độ chính xác cao và độ chính xác cao." Bằng sáng chế phác thảo một số hình dạng và cách sắp xếp tiềm năng cho cảm biến nhiệt độ, với một trong những thiết kế nổi bật hơn cả là đầu dò nhiệt độ hình chữ thập.

bằng sáng chế cảm biến nhiệt độ đồng hồ apple

Theo nhà phân tích Ming-Chi Kuo của Apple, ban đầu Apple dự định cung cấp tính năng đo nhiệt độ cơ thể cho các mẫu ‌Apple Watch Series 7, nhưng công ty đã gác lại kế hoạch khi thuật toán nhiệt độ cơ thể mà họ đã phát triển không đáp ứng được các yêu cầu trước thiết bị đã bước vào giai đoạn kiểm tra xác nhận kỹ thuật (EVT) vào năm ngoái.

Đã có rất nhiều báo cáo, bao gồm của cả leaker nổi tiếng Ming-Chi Kuo, về một chiếc Apple Watch Series 8 có thể cung cấp cảm biến nhiệt độ cơ thể, các báo cáo chỉ ra rằng mặc dù thiết bị không có khả năng cung cấp các phép đo nhiệt độ cơ thể chính xác, nhưng cảm biến sẽ được sử dụng để cung cấp ít nhất hai tính năng theo dõi sức khỏe mới.

Apple Watch S8 có thể có cảm biết nhiệt độ

Tạp chí Phố Wall và Mark Gurman của Bloomberg nói rằng cảm biến nhiệt độ cơ thể sẽ hỗ trợ việc lập kế hoạch sinh sản, giúp phụ nữ hiểu rõ hơn về chu kỳ rụng trứng của họ. Hơn nữa, cảm biến nhiệt độ cơ thể có thể được sử dụng để cải thiện khả năng phát hiện các mẫu khi theo dõi giấc ngủ. Apple đã tận dụng khả năng cảm nhận oxy trong máu khi ngủ bắt đầu từ Apple Watch Series 6 và củng cố đáng kể tính năng theo dõi giấc ngủ của Apple Watch trong watchOS 9, có nghĩa là những cải tiến hơn nữa trong lĩnh vực này được hỗ trợ bởi phần cứng trong năm nay có vẻ rất hợp lý.

Apple cũng được cho là có kế hoạch kích hoạt cảm biến nhiệt độ cơ thể để phát hiện khi người dùng bị sốt, nhưng có vẻ như tính năng này sẽ không khả dụng khi ra mắt ‌Apple Watch Series 8‌. Gurman tin rằng xa hơn nữa trong tương lai, các mẫu Apple Watch có thể xác định xem người dùng có thân nhiệt cao hơn bình thường hay không, nhưng vẫn chưa chắc có kết quả đo chính xác.

MUA APPLE WATCH CHÍNH HÃNG GIÁ TỐT

MUA APPLE WATCH SERIES 7 CHÍNH HÃNG GIÁ TỐT

MUA APPLE WATCH SERIES 6 CHÍNH HÃNG GIÁ TỐT

Xem thêm

  • [Cập nhật] các dòng Apple Watch mới nhất hiện nay
  • Apple Watch SE 3 còn hơn 6 triệu: Học sinh nên cân nhắc?
  • Apple Watch SE 3: Món quà sức khỏe cho dân tập thể thao
  • Gợi ý 3 smartwatch nhỏ xinh tặng nàng dịp 8/3
  • Apple Watch S11 giảm giá sâu: Thời điểm vàng để sở hữu ngay!
  • Tết 2026 tặng gì cho cha mẹ? Apple Watch Series 11 là số 1
  • Tặng quà gì cho ông bà dịp Tết? Gợi ý 5 món quà cực ý nghĩa
  • Thưởng Tết 5 triệu mua gì? Du xuân cùng Minh Tuấn Mobile
  • Apple Watch Series 11 giảm sốc 2026: Đo sức khỏe hoàn hảo!
  • Mẹo Apple Watch giúp bạn luôn đúng giờ mỗi ngày

Nguồn: macrumors.com

Tags: Apple Watch Series 8‌ Apple Watch Series 7 Apple Watch Series 6 Apple Watch

Share: FacebookTwitterPinterest

Mời bạn cùng thảo luận

Bạn chưa viết câu hỏi của mình hoặc ít hơn 15 ký tự.

Gửi câu hỏi

Bạn chưa nhập Họ & Tên

Bạn chưa nhập Điện thoại

Bạn chưa nhập Email

Bài viết cùng chủ đề

Spatial Audio là gì? Trải nghiệm công nghệ âm thanh không gian

Spatial Audio là gì? Trải nghiệm công nghệ âm thanh không gian

iPad Air M4 cập nhật RAM 12GB: Có đáng để nâng cấp không?

iPad Air M4 cập nhật RAM 12GB: Có đáng để nâng cấp không?

MacBook Pro M5 Pro và M5 Max có gì mới đáng nâng cấp?

MacBook Pro M5 Pro và M5 Max có gì mới đáng nâng cấp?

MacBook Air M5 có những nâng cấp đáng chú ý nào? Đánh giá chi tiết

MacBook Air M5 có những nâng cấp đáng chú ý nào? Đánh giá chi tiết

Neural Engine là gì? Vai trò của nhân AI trong việc tối ưu hóa hiệu suất và bảo mật

Neural Engine là gì? Vai trò của nhân AI trong việc tối ưu hóa hiệu suất và bảo mật

Always On Display là gì và cách tối ưu hóa tính năng màn hình luôn hiển thị hiệu quả nhất

Always On Display là gì và cách tối ưu hóa tính năng màn hình luôn hiển thị hiệu quả nhất

Tổng đài liên hệ (08h00 - 22h00)

Tư vấn mua hàng 18003355 Hỗ trợ kỹ thuật 18003355 Tư vấn bảo hành 0838335577 Phản ánh dịch vụ 0911335577 Tuyển dụng 0832335577

Liên hệ & mua hàng

  • Chăm sóc khách hàng: cskh@minhtuanmobile.com
  • Báo giá doanh nghiệp: doanhnghiep@minhtuanmobile.com

Chính sách bán hàng

  • Chính Sách Giao Hàng
  • Chính Sách & Quy Định Chung
  • Chính Sách Bảo Hành
  • Chính Sách Bảo Hành Hãng Apple
  • Chính Sách Bảo Hành Mở Rộng
  • Chính Sách Đổi Trả
  • Chính Sách Và Quy Định Hỗ Trợ Sao Lưu, Chuyển Đổi Dữ Liệu
  • Chính Sách Bảo Mật Và Xử Lý Dữ Liệu Cá Nhân
  • Quy Chế Hoạt Động
  • Khách hàng thân thiết

Thông tin, dịch vụ khác

  • Khách hàng doanh nghiệp
  • Thương hiệu phân phối
  • Kèo thơm
  • Trả góp
  • Thu Cũ Đổi Mới
  • Thông tin hay
  • Tuyển dụng

Hình thức thanh toán

Hình thức thanh toán

Liên kết với Minh Tuấn Mobile

  • ZALO Minh Tuấn Mobile

Online.gov.vn DMCA.com Protection Status

Công ty TNHH Minh Tuấn Mobile - GPĐKKD: 0316579658 do sở KH & ĐT TP. HCM cấp ngày 09/11/2020. Địa chỉ: 135/1/8 Nguyễn Hữu Cảnh, Phường Thạnh Mỹ Tây, Tp. Hồ Chí Minh. Điện thoại: 1800 3355 - 0838335577

Chịu trách nhiệm nội dung: Ngư Thị Dự

Copy LINK thành công.
Minh Tuấn Mobile Minh Tuấn Mobile
Thêm vào giỏ hàng thành công.

Liên hệ đặt hàng

  • Trang chủ
  • Danh mục
  • Cửa hàng
  • Thành viên
  • Xem thêm
Thu cũ
Thu cũThu cũ
Kèo thơm
Kèo thơm
Thông tin hay
Thông tin hay

iPhone

  • Dòng máy
  • iPhone Air
    iPhone Air
  • iPhone 17
    iPhone 17
  • iPhone 16
    iPhone 16
  • iPhone 15
    iPhone 15
  • iPhone 14
    iPhone 14
  • iPhone 13
    iPhone 13
  • Mức giá iPhone
  • Dưới 15 triệu
  • Từ 15 - 25 triệu
  • Từ 25 - 35 triệu
  • Trên 35 triệu

Điện Thoại

  • Samsung
  • Galaxy Z Series
    Galaxy Z Series
  • Galaxy S Series
    Galaxy S Series
  • Galaxy A Series
    Galaxy A Series
  • Realme
  • Realme
    Realme
  • Honor
  • HONOR
    HONOR
  • Xiaomi
  • Xiaomi
    Xiaomi
  • OPPO
  • OPPO
    OPPO
  • Nokia
  • Nokia
    Nokia

Mac

  • MacBook
  • MacBook Neo
    MacBook Neo
  • MacBook Air
    MacBook Air
  • MacBook Pro
    MacBook Pro
  • Mac
  • iMac
    iMac
  • Mac mini
    Mac mini
  • Mac Studio
    Mac Studio

Laptop

  • Thương hiệu
  • MSI
    MSI
  • Asus
    Asus
  • Lenovo
    Lenovo
  • Dell
    Dell
  • HP
    HP
  • Mức giá Laptop
  • Dưới 10 triệu
  • Từ 10 - 20 triệu
  • Từ 20 - 30 triệu

Tablet

  • iPad
  • iPad Air
    iPad Air
  • iPad Pro
    iPad Pro
  • iPad A16
    iPad A16
  • iPad Mini
    iPad Mini
  • iPad 11 inch
    iPad 11 inch
  • iPad 13 inch
    iPad 13 inch
  • Samsung
  • Galaxy Tab Series 10
    Galaxy Tab Series 10
  • Galaxy Tab Series 11
    Galaxy Tab Series 11
  • Galaxy Tab A11
    Galaxy Tab A11
  • Xiaomi
  • Xiaomi
    Xiaomi

Smartwatch

  • Apple Watch
  • Apple Watch SE
    Apple Watch SE
  • Apple Watch S11
    Apple Watch S11
  • Apple Watch Ultra
    Apple Watch Ultra
  • Galaxy Watch
  • Galaxy Watch8 Series
    Galaxy Watch8 Series
  • Galaxy Watch Ultra
    Galaxy Watch Ultra
  • Galaxy Fit3
    Galaxy Fit3
  • Thương hiệu khác
  • Xiaomi
    Xiaomi
  • SoundPeats
    SoundPeats
  • Garmin
    Garmin

Màn hình

  • Máy chiếu
  • MicroPack
    MicroPack
  • Mực in
  • i-Aicon
    i-Aicon
  • HP
    HP
  • Màn hình
  • SAMSUNG
    SAMSUNG
  • DELL
    DELL
  • AOC
    AOC
  • ViewSonic
    ViewSonic
  • PHILIPS
    PHILIPS
  • VSP
    VSP

Âm thanh

  • Chọn loại tai nghe
  • Tai nghe chụp tai
    Tai nghe chụp tai
  • Tai nghe có dây
    Tai nghe có dây
  • Tai nghe Bluetooth
    Tai nghe Bluetooth
  • Tai nghe gaming
    Tai nghe gaming
  • Tai nghe thể thao
    Tai nghe thể thao
  • Chọn loại loa
  • Loa Bluetooth
    Loa Bluetooth
  • Loa Karaoke
    Loa Karaoke
  • Loa nhỏ gọn
    Loa nhỏ gọn
  • Thương hiệu
  • Apple
    Apple
  • Samsung
    Samsung
  • B&O
    B&O
  • Bose
    Bose
  • Marshall
    Marshall
  • JBL
    JBL
  • Soundpeats
    Soundpeats
  • Havit
    Havit
  • Alpha Words
    Alpha Words
  • Sounarc
    Sounarc
  • Harman Kardon
    Harman/Kardon

Phụ kiện

  • Phụ kiện di động
  • Dán màn hình Dán cường lực
    Dán màn hình/ Dán cường lực
  • Ốp lưng Bao da
    Ốp lưng/ Bao da
  • Dán camera
    Dán camera
  • Adapter, củ sạc
    Adapter, củ sạc
  • Cáp sạc
    Cáp sạc
  • Pin sạc dự phòng
    Pin sạc dự phòng
  • Giá đỡ điện thoại
    Giá đỡ điện thoại
  • Gậy chụp ảnh
    Gậy chụp ảnh
  • Apple care +
    Apple care +
  • Sim số
    Sim số
  • Phụ kiện di động khác
    Phụ kiện di động khác
  • Phụ kiện Laptop
  • Chuột Bàn phím Bút
    Chuột/ Bàn phím/ Bút
  • Balo Túi chống sốc Túi đeo chéo
    Balo/ Túi chống sốc/ Túi đeo chéo
  • Sạc Laptop
    Sạc Laptop
  • Hub chuyển đổi
    Hub chuyển đổi
  • Phần mềm Microsoft
    Phần mềm Microsoft
  • Phủ phím
    Phủ phím
  • Dán màn hình
    Dán màn hình
  • Giá đỡ Laptop
    Giá đỡ Laptop
  • Camera
  • Camera an ninh
    Camera an ninh
  • Camera hành trình
    Camera hành trình
  • Thiết bị lưu trữ
  • Ổ cứng SSD
    Ổ cứng SSD
  • Ổ cứng HDD
    Ổ cứng HDD
  • USB
    USB
  • Ổ cứng di động
    Ổ cứng di động
  • Thẻ nhớ
    Thẻ nhớ
  • Đầu đọc thẻ nhớ
    Đầu đọc thẻ nhớ

Gia dụng

  • Thiết bị gia đình
  • Quạt
    Quạt
  • Bàn ủi
    Bàn ủi
  • Máy xông tinh dầu
    Máy xông tinh dầu
  • Máy hút bụi
    Máy hút bụi
  • Bình giữ nhiệt
    Bình giữ nhiệt
  • Nồi cơm điện
    Nồi cơm điện
  • Nồi chiên không dầu
    Nồi chiên không dầu
  • Máy lọc không khí
    Máy lọc không khí
  • Robot hút bụi
    Robot hút bụi
  • Sức khoẻ và làm đẹp
  • Máy tăm nước
    Máy tăm nước
  • Máy massage
    Máy massage
  • Máy cạo râu
    Máy cạo râu
  • Máy cắt tỉa
    Máy cắt tỉa
  • Bàn chải điện
    Bàn chải điện
  • Thiết bị nhà thông minh
  • Máy lọc không khí
    Máy lọc không khí
  • Robot hút bụi
    Robot hút bụi
  • LifeStyle
  • Hydro Flask
    Hydro Flask
  • Balo - Túi chống shock
    Balo - Túi chống shock
  • Chăm sóc cá nhân
    Chăm sóc cá nhân
  • Phụ kiện khác
    Phụ kiện khác

Hàng cũ

  • Điện thoại cũ
  • iPhone cũ
    iPhone cũ
  • Samsung cũ
    Samsung cũ
  • Điện thoại cũ khác
    Điện thoại cũ khác
  • Laptop cũ
  • MacBook cũ
    MacBook cũ
  • iMac cũ
    iMac cũ
  • Máy tính bảng cũ
  • iPad cũ
    iPad cũ
  • Galaxy Tab cũ
    Galaxy Tab cũ
  • Âm thanh cũ
  • Loa cũ
    Loa cũ
  • Tai nghe cũ
    Tai nghe cũ
  • Phụ kiện cũ
  • Phụ kiện
    Phụ kiện
  • Đồng hồ thông minh cũ
  • Đồng hồ
    Đồng hồ

Thu cũ

Kèo thơm

Thông tin hay

Ưu đãi

  • Ưu đãi
  • Săn deal Tháng 5
  • Học sinh - Sinh viên
  • Ưu đãi thanh toán

Tổng đài liên hệ (08h00 - 22h00)

Tư vấn mua hàng 18003355 Hỗ trợ kỹ thuật 18003355 Tư vấn bảo hành 0838335577 Phản ánh dịch vụ 0911335577 Tuyển dụng 0832335577

Liên hệ & mua hàng

  • Chăm sóc khách hàng: cskh@minhtuanmobile.com
  • Báo giá doanh nghiệp: doanhnghiep@minhtuanmobile.com

Chính sách bán hàng

  • Chính Sách Giao Hàng
  • Chính Sách & Quy Định Chung
  • Chính Sách Bảo Hành
  • Chính Sách Bảo Hành Hãng Apple
  • Chính Sách Bảo Hành Mở Rộng
  • Chính Sách Đổi Trả
  • Chính Sách Và Quy Định Hỗ Trợ Sao Lưu, Chuyển Đổi Dữ Liệu
  • Chính Sách Bảo Mật Và Xử Lý Dữ Liệu Cá Nhân
  • Quy Chế Hoạt Động
  • Khách hàng thân thiết

Thông tin, dịch vụ khác

  • Khách hàng doanh nghiệp
  • Thương hiệu phân phối
  • Kèo thơm
  • Trả góp
  • Thu Cũ Đổi Mới
  • Thông tin hay
  • Tuyển dụng

Hình thức thanh toán

Hình thức thanh toán

Liên kết với Minh Tuấn Mobile

  • ZALO Minh Tuấn Mobile

Online.gov.vn DMCA.com Protection Status

Công ty TNHH Minh Tuấn Mobile - GPĐKKD: 0316579658 do sở KH & ĐT TP. HCM cấp ngày 09/11/2020. Địa chỉ: 135/1/8 Nguyễn Hữu Cảnh, Phường Thạnh Mỹ Tây, Tp. Hồ Chí Minh. Điện thoại: 1800 3355 - 0838335577

Chịu trách nhiệm nội dung: Ngư Thị Dự

  • Chat Zalo (8h00 - 22h00)
  • 18003355 (8h00 - 22h00)
  • Messenger (8h00 - 22h00)