Dùng Trước Trả Sau
Hệ thống cửa hàng điện thoại Minh Tuấn Mobile

 Xu hướng tìm kiếm

Galaxy S26 SeriesGalaxy S26 Series
AirTag 2 MớiAirTag 2 Mới
iPhone 17 sẵn hàngiPhone 17 sẵn hàng
MacBook Neo giá tốtMacBook Neo giá tốt
AirPods 4AirPods 4
iPhone Air sẵn hàngiPhone Air sẵn hàng
Apple Watch S11Apple Watch S11
Ốp lưng PitakaỐp lưng Pitaka
Osmo Pocket 4Osmo Pocket 4
Ốp lưng AppleỐp lưng Apple
Loa MarshallLoa Marshall
Cốc sạc AppleCốc sạc Apple
  • hotline18003355
  • Giỏ hàngcủa bạn
  • Kiểm tra đơn hàng
  • Hệ Thống Cửa hàng
  • tài khoản Đăng nhập
  • iPhone
    iPhone

    Dòng máy

    • iPhone Air
    • iPhone 17
    • iPhone 16
    • iPhone 15
    • iPhone 14
    • iPhone 13
  • Điện thoại

    Samsung

    • Galaxy Z Series
      • Galaxy Z7 Series
    • Galaxy S Series
      • Galaxy S26 Series
      • Galaxy S25 Series
    • Galaxy A Series

    Điện Thoại

    • OPPO
    • Xiaomi
    • HONOR
    • Realme
    • Nokia
  • Mac
    Mac

    MacBook

    • MacBook Neo Mới
    • MacBook Air
      • MacBook Air M5 Mới
      • MacBook Air 13 inch
      • MacBook Air 15 inch
    • MacBook Pro
      • MacBook Pro M5
      • MacBook Pro 14 inch
      • MacBook Pro 16 inch

    Mac

    • Mac mini
    • Mac Studio
    • iMac
  • Laptop

    ASUS

    DELL

    Lenovo

    HP

    MSI

  • Tablet
    Tablet

    iPad

    • iPad Air
      • iPad Air M4 Mới
      • iPad Air M3
    • iPad Pro
      • 11 inch
      • 13 inch
    • iPad A16
    • iPad Mini
    • iPad 11 inch
    • iPad 13 inch

    Galaxy Tab

    • Galaxy Tab Series 10
    • Galaxy Tab Series 11
    • Galaxy Tab A11

    Xiaomi

  • Smartwatch

    Apple Watch

    • Apple Watch S11
    • Apple Watch SE
      • Apple Watch SE 3
    • Apple Watch Ultra
      • Apple Watch Ultra 3

    Galaxy Watch

    • Galaxy Watch8 Series
    • Galaxy Watch Ultra
    • Galaxy Fit3

    Đồng hồ

    • Garmin
    • SoundPeats
    • Xiaomi
  • Màn hình

    Thương hiệu

    • Samsung
    • Dell
    • AOC
    • VIEWSONIC
    • PHILIPS
    • VSP
  • PC
  • Âm thanh

    Chọn loại tai nghe

    • Tai nghe chụp tai
    • Tai nghe có dây
    • Tai nghe Bluetooth
    • Tai nghe gaming
    • Tai nghe thể thao

    Chọn loại loa

    • Loa nhỏ gọn
    • Loa Karaoke
    • Loa Soundbar

    Micro

    Thương hiệu loa

    • Bang & Olufsen
    • Bose
    • Marshall
    • JBL
    • SoundPEATS
    • Sony
    • Alpha Works
    • Sounarc
    • Harman Kardon
    • Edifier
    • Thương hiệu khác

    Thương hiệu tai nghe

    • Apple
    • Samsung
    • Bang & Olufsen
    • Bose
    • Marshall
    • JBL
    • SoundPEATS
    • Havit
    • Alpha Works
    • NoThing
    • Earfun
    • Sony
    • QCY
    • Baseus
    • Thương hiệu khác
  • Phụ kiện

    Phụ kiện Apple

    • Ốp lưng Apple
    • Cốc sạc Apple
    • Cáp sạc Apple
    • Pencil Apple
    • Chuột Apple
    • Bàn phím Apple
    • Airtag

    Phụ kiện khác

    • Quạt cầm tay
    • Dây đeo đồng hồ
    • Ổ cắm điện

    Phụ kiện di động

    • Dán màn hình/ Dán cường lực
    • Ốp lưng/ Bao da
    • Dán camera
    • Adapter, củ sạc
    • Cáp sạc
    • Pin sạc dự phòng
    • Giá đỡ điện thoại
    • Gậy chụp ảnh
    • Apple care +
    • Bút cảm ứng
    • Sim số
    • Phụ kiện di động khác

    Thiết bị mạng

    Phụ kiện Laptop

    • Chuột
    • Bàn phím
    • Sạc Laptop
    • Balo/ Túi chống sốc/ Túi đeo chéo
    • Hub chuyển đổi
    • Phần mềm Microsoft
    • Phủ phím
    • Dán màn hình
    • Giá đỡ Laptop

    Camera

    • Camera hành động Mới
    • Camera hành trình
    • Camera an ninh

    Thiết bị lưu trữ

    • USB
    • Thẻ nhớ
    • Ổ cứng di động
    • Ổ cứng SSD
    • Ổ cứng HDD
    • Ổ cứng mạng
    • Box ổ cứng

    Thương hiệu

    • APPLE
    • PITAKA
    • UAG
    • MIPOW
    • BELKIN
    • ZAGG
    • ESR
    • MOPHIE
    • INNOSTYLE
    • JCPAL
    • ANKER
    • DJI
    • MICROSOFT
    • ENERGIZER
    • AUKEY
    • MOCOLL
    • UNIQ
    • 9FIT
    • XTREM
    • TENDA
    • TP-LINK
    • IMOU
    • EZVIZ
    • SANDISK

    Thương hiệu khác

  • Gia dụng

    Thiết bị gia đình

    • Quạt
    • Bàn ủi
    • Máy hút bụi
    • Robot hút bụi
    • Bình giữ nhiệt
    • Nồi cơm điện
    • Nồi chiên không dầu
    • Máy xông tinh dầu
    • Máy lọc không khí

    Sức khoẻ và làm đẹp

    • Máy cắt tỉa
    • Bàn chải điện
    • Máy tăm nước
    • Máy massage
    • Máy cạo râu

    Thương hiệu

    • XIAOMI
    • DEERMA
    • TEFAL
    • HYDRO FLASK

    Thương hiệu khác

  • Hàng cũ

    Điện thoại cũ

    • iPhone cũ
      • iPhone 17
      • iPhone Air
      • iPhone 16 Series
      • iPhone 15 Series
      • iPhone 14 Series
      • iPhone 13 Series
      • iPhone 12 Series
      • iPhone 11 Series
      • iPhone X Series
    • Samsung cũ
      • Galaxy S Series
      • Galaxy Z Series
      • Galaxy A Series
    • Điện thoại cũ khác

    Máy tính bảng cũ

    • iPad cũ
    • Galaxy Tab cũ

    Laptop cũ

    • MacBook cũ
    • iMac cũ

    Đồng hồ thông minh cũ

    Phụ kiện cũ

    Âm thanh cũ

    • Loa cũ
    • Tai nghe cũ
  • Thu cũ
    Thu cũ
  • Kèo thơm
  • Ưu đãi

    Chương trình ưu đãi Tháng 04/2026

    • Deals phụ kiện  
    • Deals âm thanh  
    • Deals sản phẩm công nghệ  
    • Deals sản phẩm gia dụng  
    • Khuyến mãi tháng 4 HOT
    • Ưu đãi Học sinh - Sinh viên HOT
    • Ưu đãi thanh toán HOT
  • Thông tin hay
  1. Trang chủ
  2. Thông tin hay
  3. Với những tính năng này, Apple Glass sẽ cho phép người...

Với những tính năng này, Apple Glass sẽ cho phép người dùng trải nghiệm đắm chìm cả ngày dài

Anthony 24/05/2022 19:36

Với những tính năng này, Apple Glass sẽ cho phép người dùng trải nghiệm đắm chìm cả ngày dài
  • Trải nghiệm âm thanh và hình ảnh siêu thực
  • Giải pháp cho vấn đề quá nhiệt
Các thiết bị AR của Apple, chẳng hạn như "Apple Glass", có thể có tính năng làm mát để giữ cho người đeo thoải mái và điều chỉnh chi tiết môi trường AR/\VR để làm cho chúng trông tự nhiên.

Ngay từ khi Steve Jobs khẳng định Mac phải có hộp thoại với các góc bo tròn thay vì hình chữ nhật thẳng, Apple đã nổi tiếng là công ty quan tâm tới từng chi tiết nhỏ. Lần này, công ty tiếp tục làm như vậy với một cặp bằng sáng chế, bao gồm một bằng sáng chế, sau những điều chỉnh trong phút chốc, hiện đã được cấp lần thứ hai.

Trải nghiệm âm thanh và hình ảnh siêu thực

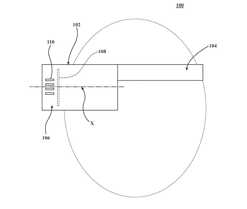
"Phối hợp phản hồi cho tương tác ảo", bằng sáng chế được cấp vào tháng 9 năm 2020, tập trung vào điều gì đó mà bạn chưa nhận ra trong cuộc sống thực nhưng sẽ lưu ý xem liệu môi trường AR hoặc VR có mắc lỗi hay không. Khi bạn tham gia một buổi hòa nhạc với một người bạn, hai bạn đang nghe thấy những âm thanh khác nhau một cách tinh tế, chỉ vì vị trí bạn đang ngồi.

Chẳng hạn là bạn của bạn đang ngồi ở hàng ghế, và bạn đang ở hàng ghế đầu, trải nghiệm âm thanh và hình ảnh sẽ có sự khác biệt. Điều tương tự cũng xảy ra khi bạn đứng lên hoặc đi cuối người lúc chen khỏi những hàng ghế để ra ngoài. Âm nhạc nghe có vẻ khác nhau - về cơ bản là vậy, tùy thuộc vào vị trí của bạn.

Apple Glass

Apple cho biết: "Các hệ thống xử lý âm nhạc ... nên cố gắng cải thiện độ chính xác về thời gian trong các buổi biểu diễn âm nhạc để nâng cao chất lượng âm nhạc và trải nghiệm người dùng". "Nhiệm vụ này, được gọi là lượng tử hóa, có thể liên quan đến việc trình bày phát lại âm thanh tại một thời điểm khác với thời điểm biểu diễn âm thanh ..."

Vì vậy, bạn nghe thấy cung đàn vi-ô-lông di chuyển hoặc bạn thấy một đoạn riff guitar bắt đầu, nhưng theo đề xuất của Apple, bạn chỉ nghe thấy âm nhạc vào đúng thời điểm bạn nên - theo nghệ sĩ hoặc vị trí bạn đang đứng. "[Lượng tử hóa yêu cầu] xác định rằng bản trình bày đã sửa đổi như vậy phù hợp hơn với ý định của người biểu diễn hoặc cấu trúc của một bản nhạc."

Apple Glass

Cũng như vị trí thực tế của bạn so với âm thanh thực hoặc ảo, có vấn đề về thiết bị đang được sử dụng. "Một thiết bị phản hồi (chẳng hạn như loa/tai nghe, công cụ haptics hoặc tương tự) thường có độ trễ được xác định trước giữa việc bắt đầu phản hồi liên quan (chẳng hạn như âm thanh, xúc giác hoặc tương tự) và nhận thức của người dùng về phản hồi liên quan do, ví dụ, phần cứng hoặc độ trễ đường truyền, "Apple tiếp tục cho biết trong bằng sáng chế.

Bằng sáng chế tiếp tục cho biết: "Đổi lại, phản hồi liên quan đến tương tác ảo trong môi trường CGR nên cố gắng tạo ra sự phối hợp giống như cuộc sống (hoặc đồng bộ hóa) giữa nhận thức về phản hồi và sự xuất hiện của tương tác ảo".

Các chi tiết cực kỳ tốt, nhưng mục đích là đơn giản. Để thưởng thức thứ gì đó như một buổi hòa nhạc, hoặc bất kỳ trải nghiệm nào với âm thanh, trong một thời gian ngắn, nó phải có âm thanh thực. Apple nói tiếp: “Tuy nhiên, các hệ thống phân phối CGR hiện tại tiếp tục đối mặt với những thách thức khi nói đến sự phối hợp (hoặc đồng bộ hóa) hiệu quả và kịp thời giữa phản hồi và tương tác ảo.

Apple Glass

Các giải pháp được đề xuất của Apple đều dành cho màn hình gắn trên đầu (HMD) và đều quan tâm đến bản thân âm thanh cũng như vị trí thực tế của người đeo. Bằng sáng chế không chỉ mô tả việc phát hiện vị trí của người đeo HMD để thay đổi âm thanh mà còn bao gồm cả thời điểm âm thanh do người đeo đó tạo ra.

"Một số hệ thống CGR hiện có cho phép người dùng chơi nhạc cụ ảo bằng cách dịch tư thế cơ thể trong thế giới thực của người dùng và thông tin quỹ đạo... thành các tương tác CGR giữa hình đại diện/hình đại diện CGR được liên kết với người dùng và nhạc cụ ảo", Apple nói.

Giải pháp cho vấn đề quá nhiệt

Đây không phải là những năm 1980, vì vậy người dùng đeo HMD và chơi một nhạc cụ ảo không thể đeo dây đeo trong khi bị chảy mồ hôi mà vẫn chấp nhận được Tuy nhiên, tất cả các thiết bị này đều yêu cầu công suất xử lý và điều đó dãn đến vấn đề quá nhiệt.

Bằng sáng chế được cấp lần đầu tiên vào năm 2020, và hiện đã được cấp ở dạng sửa đổi tinh vi, được gọi là "Giải pháp nhiệt kết cấu cho các thiết bị hiển thị". Nó liên quan đến việc giữ cho người đeo luôn cảm thấy mát mẻ.

Apple cho biết trong bằng sáng chế này: “Một số tấm nền màn hình, chẳng hạn như tấm nền OLED và uOLED, có thể hoạt động ở nhiệt độ cao. Trong các hệ thống đã biết, chẳng hạn như HMD có thể đeo được, bảng hiển thị thường được hỗ trợ bởi giá đỡ, khung hoặc cấu trúc khác, thường được tạo ra từ vật liệu nhẹ (ví dụ: nhựa) để giảm trọng lượng tổng thể của hệ thống".

Apple Glass

"Tuy nhiên, những cấu trúc này mang lại ít lợi ích về mặt điều chỉnh nhiệt," Apple tiếp tục: "Nếu không được làm mát và tản nhiệt thích hợp, các tấm pin (đắt tiền và khó thay thế) có thể xuống cấp theo thời gian, thường dẫn đến hư hỏng không thể sửa chữa hoặc hỏng hóc hệ thống."

Ngoài việc nghĩ đến sự thoải mái của người đeo, bằng sáng chế này cũng hướng đến khả năng đeo lâu dài trên các thiết bị như vậy. Apple chỉ ra rằng các hệ thống hiện tại "thường sẽ kết hợp các thành phần bổ sung, chẳng hạn như tản nhiệt," để làm điều này, nhưng chúng đi kèm với các vấn đề.

"Tuy nhiên, những thành phần bổ sung này tạo ra những thách thức về thiết kế và tăng thêm trọng lượng tổng thể của hệ thống", Apple nói. Giải pháp của nó "giải quyết những thách thức này bằng cách cung cấp một hệ thống hiển thị tích hợp các giải pháp nhiệt vào các thành phần cấu trúc."

Apple Glass

Apple tiếp tục: "Chức năng kết hợp này không chỉ làm giảm tổng số thành phần, độ phức tạp và trọng lượng của hệ thống hiển thị mà còn tăng khả năng dẫn nhiệt và cải thiện khả năng quản lý nhiệt để giảm nhiệt độ hoạt động và kéo dài tuổi thọ sử dụng của hệ thống."

Không phải Apple có bất kỳ phương pháp tản nhiệt hoặc giảm nhiệt đặc biệt mới nào. Thay vào đó, công ty hướng tới việc tận dụng phần cứng đã có để HMD hoạt động. Chúng bao gồm "bảng hiển thị" cộng với "nhà cung cấp dịch vụ hỗ trợ mặt đầu tiên của bảng hiển thị." Bộ phận mang hay khung này là một "giải pháp tản nhiệt để tạo điều kiện truyền nhiệt ra khỏi bảng hiển thị."

Ngoài ra còn có các yếu tố khác bao gồm tản nhiệt để nó có thể hoạt động nhưng không ảnh hưởng xấu đến người mặc. Và có những giải pháp có nghĩa là các bộ phận sẽ di chuyển để "tạo ra luồng không khí."

Bằng sáng chế nhiệt này được ghi nhận cho năm nhà phát minh, bao gồm Laura M. Campo và Sivesh Selvakumar. Công việc liên quan trước đây của họ bao gồm một bằng sáng chế về điều chỉnh nhiệt độ nhiệt cho HMD.

Bằng sáng chế về điều khiển âm thanh chính xác là của Christopher T. Eubank và Daniel P. Patterson. Người trước đây nắm giữ nhiều bằng sáng chế liên quan, bao gồm cả bằng sáng chế liên quan đến âm thanh không gian cho "Apple Glass" và các thiết bị khác.

Xem thêm

  • Kuo dự đoán Apple VR có thể ra mắt vào tháng 1 năm 2023
  • Tai nghe VR của Apple có thể phát hiện các cử chỉ ngón tay để điều khiển
  • Tai nghe AR của Apple có thể ra mắt liên tiếp vào năm 2023 và 2024
  • Apple AR Glass đang trong giai đoạn phát triển thiết kế, sẽ ra mắt vào nửa cuối năm 2024
  • Apple Glass có thể tự làm sạch - một nghiên cứu mới vừa được Apple tiết lộ
  • Apple Glass có thể cách mạng hóa thực tế tăng cường ngay sau năm 2025
  • Điểm lại những chiếc điện thoại được kỳ vọng nhiều nhất 2021 nhưng đáng tiếc đã không thể trình làng
  • Tin đồn về ngày phát hành, giá cả, thông số kỹ thuật và tính năng của Apple VR và tai nghe thực tế hỗn hợp
  • Xuất hiện hình ảnh render tai nghe Apple VR: Thiết kế gọn nhẹ, tích hợp cảm biến LiDAR
  •  8 sản phẩm bí mật mà Apple đang âm thầm sản xuất, chuẩn bị ra mắt trong thời gian tới

Nguồn: AppleInsider

Tags: Apple Glass

Share: FacebookTwitterPinterest

Mời bạn cùng thảo luận

Bạn chưa viết câu hỏi của mình hoặc ít hơn 15 ký tự.

Gửi câu hỏi

Bạn chưa nhập Họ & Tên

Bạn chưa nhập Điện thoại

Bạn chưa nhập Email

Bài viết cùng chủ đề

Spatial Audio là gì? Trải nghiệm công nghệ âm thanh không gian

Spatial Audio là gì? Trải nghiệm công nghệ âm thanh không gian

iPad Air M4 cập nhật RAM 12GB: Có đáng để nâng cấp không?

iPad Air M4 cập nhật RAM 12GB: Có đáng để nâng cấp không?

MacBook Pro M5 Pro và M5 Max có gì mới đáng nâng cấp?

MacBook Pro M5 Pro và M5 Max có gì mới đáng nâng cấp?

MacBook Air M5 có những nâng cấp đáng chú ý nào? Đánh giá chi tiết

MacBook Air M5 có những nâng cấp đáng chú ý nào? Đánh giá chi tiết

Neural Engine là gì? Vai trò của nhân AI trong việc tối ưu hóa hiệu suất và bảo mật

Neural Engine là gì? Vai trò của nhân AI trong việc tối ưu hóa hiệu suất và bảo mật

Always On Display là gì và cách tối ưu hóa tính năng màn hình luôn hiển thị hiệu quả nhất

Always On Display là gì và cách tối ưu hóa tính năng màn hình luôn hiển thị hiệu quả nhất

Tổng đài liên hệ (08h00 - 22h00)

Tư vấn mua hàng 18003355 Hỗ trợ kỹ thuật 18003355 Tư vấn bảo hành 0838335577 Phản ánh dịch vụ 0911335577 Tuyển dụng 0832335577

Liên hệ & mua hàng

  • Chăm sóc khách hàng: cskh@minhtuanmobile.com
  • Báo giá doanh nghiệp: doanhnghiep@minhtuanmobile.com

Chính sách bán hàng

  • Chính Sách Giao Hàng
  • Chính Sách & Quy Định Chung
  • Chính Sách Bảo Hành
  • Chính Sách Bảo Hành Hãng Apple
  • Chính Sách Bảo Hành Mở Rộng
  • Chính Sách Đổi Trả
  • Chính Sách Và Quy Định Hỗ Trợ Sao Lưu, Chuyển Đổi Dữ Liệu
  • Chính Sách Bảo Mật Và Xử Lý Dữ Liệu Cá Nhân
  • Quy Chế Hoạt Động
  • Khách hàng thân thiết

Thông tin, dịch vụ khác

  • Khách hàng doanh nghiệp
  • Thương hiệu phân phối
  • Kèo thơm
  • Trả góp
  • Thu Cũ Đổi Mới
  • Thông tin hay
  • Tuyển dụng

Hình thức thanh toán

Hình thức thanh toán

Liên kết với Minh Tuấn Mobile

  • ZALO Minh Tuấn Mobile

Online.gov.vn DMCA.com Protection Status

Công ty TNHH Minh Tuấn Mobile - GPĐKKD: 0316579658 do sở KH & ĐT TP. HCM cấp ngày 09/11/2020. Địa chỉ: 135/1/8 Nguyễn Hữu Cảnh, Phường Thạnh Mỹ Tây, Tp. Hồ Chí Minh. Điện thoại: 1800 3355 - 0838335577

Chịu trách nhiệm nội dung: Ngư Thị Dự

Copy LINK thành công.
Minh Tuấn Mobile Minh Tuấn Mobile
Thêm vào giỏ hàng thành công.

Liên hệ đặt hàng

  • Trang chủ
  • Danh mục
  • Cửa hàng
  • Thành viên
  • Xem thêm
Thu cũ
Thu cũThu cũ
Kèo thơm
Kèo thơm
Thông tin hay
Thông tin hay

iPhone

  • Dòng máy
  • iPhone Air
    iPhone Air
  • iPhone 17
    iPhone 17
  • iPhone 16
    iPhone 16
  • iPhone 15
    iPhone 15
  • iPhone 14
    iPhone 14
  • iPhone 13
    iPhone 13
  • Mức giá iPhone
  • Dưới 15 triệu
  • Từ 15 - 25 triệu
  • Từ 25 - 35 triệu
  • Trên 35 triệu

Điện Thoại

  • Samsung
  • Galaxy Z Series
    Galaxy Z Series
  • Galaxy S Series
    Galaxy S Series
  • Galaxy A Series
    Galaxy A Series
  • Realme
  • Realme
    Realme
  • Honor
  • HONOR
    HONOR
  • Xiaomi
  • Xiaomi
    Xiaomi
  • OPPO
  • OPPO
    OPPO
  • Nokia
  • Nokia
    Nokia

Mac

  • MacBook
  • MacBook Neo
    MacBook Neo
  • MacBook Air
    MacBook Air
  • MacBook Pro
    MacBook Pro
  • Mac
  • iMac
    iMac
  • Mac mini
    Mac mini
  • Mac Studio
    Mac Studio

Laptop

  • Thương hiệu
  • MSI
    MSI
  • Asus
    Asus
  • Lenovo
    Lenovo
  • Dell
    Dell
  • HP
    HP
  • Mức giá Laptop
  • Dưới 10 triệu
  • Từ 10 - 20 triệu
  • Từ 20 - 30 triệu

Tablet

  • iPad
  • iPad Air
    iPad Air
  • iPad Pro
    iPad Pro
  • iPad A16
    iPad A16
  • iPad Mini
    iPad Mini
  • iPad 11 inch
    iPad 11 inch
  • iPad 13 inch
    iPad 13 inch
  • Samsung
  • Galaxy Tab Series 10
    Galaxy Tab Series 10
  • Galaxy Tab Series 11
    Galaxy Tab Series 11
  • Galaxy Tab A11
    Galaxy Tab A11
  • Xiaomi
  • Xiaomi
    Xiaomi

Smartwatch

  • Apple Watch
  • Apple Watch SE
    Apple Watch SE
  • Apple Watch S11
    Apple Watch S11
  • Apple Watch Ultra
    Apple Watch Ultra
  • Galaxy Watch
  • Galaxy Watch8 Series
    Galaxy Watch8 Series
  • Galaxy Watch Ultra
    Galaxy Watch Ultra
  • Galaxy Fit3
    Galaxy Fit3
  • Thương hiệu khác
  • Xiaomi
    Xiaomi
  • SoundPeats
    SoundPeats
  • Garmin
    Garmin

Màn hình

  • Thương hiệu
  • SAMSUNG
    SAMSUNG
  • DELL
    DELL
  • AOC
    AOC
  • ViewSonic
    ViewSonic
  • PHILIPS
    PHILIPS
  • VSP
    VSP

Âm thanh

  • Chọn loại tai nghe
  • Tai nghe chụp tai
    Tai nghe chụp tai
  • Tai nghe có dây
    Tai nghe có dây
  • Tai nghe Bluetooth
    Tai nghe Bluetooth
  • Tai nghe gaming
    Tai nghe gaming
  • Tai nghe thể thao
    Tai nghe thể thao
  • Chọn loại loa
  • Loa Bluetooth
    Loa Bluetooth
  • Loa Karaoke
    Loa Karaoke
  • Loa nhỏ gọn
    Loa nhỏ gọn
  • Thương hiệu
  • Apple
    Apple
  • Samsung
    Samsung
  • B&O
    B&O
  • Bose
    Bose
  • Marshall
    Marshall
  • JBL
    JBL
  • Soundpeats
    Soundpeats
  • Havit
    Havit
  • Alpha Words
    Alpha Words
  • Sounarc
    Sounarc
  • Harman Kardon
    Harman/Kardon

Phụ kiện

  • Phụ kiện di động
  • Dán màn hình Dán cường lực
    Dán màn hình/ Dán cường lực
  • Ốp lưng Bao da
    Ốp lưng/ Bao da
  • Dán camera
    Dán camera
  • Adapter, củ sạc
    Adapter, củ sạc
  • Cáp sạc
    Cáp sạc
  • Pin sạc dự phòng
    Pin sạc dự phòng
  • Giá đỡ điện thoại
    Giá đỡ điện thoại
  • Gậy chụp ảnh
    Gậy chụp ảnh
  • Apple care +
    Apple care +
  • Sim số
    Sim số
  • Phụ kiện di động khác
    Phụ kiện di động khác
  • Phụ kiện Laptop
  • Chuột Bàn phím Bút
    Chuột/ Bàn phím/ Bút
  • Balo Túi chống sốc Túi đeo chéo
    Balo/ Túi chống sốc/ Túi đeo chéo
  • Sạc Laptop
    Sạc Laptop
  • Hub chuyển đổi
    Hub chuyển đổi
  • Phần mềm Microsoft
    Phần mềm Microsoft
  • Phủ phím
    Phủ phím
  • Dán màn hình
    Dán màn hình
  • Giá đỡ Laptop
    Giá đỡ Laptop
  • Camera
  • Camera an ninh
    Camera an ninh
  • Camera hành trình
    Camera hành trình
  • Thiết bị lưu trữ
  • Ổ cứng SSD
    Ổ cứng SSD
  • Ổ cứng HDD
    Ổ cứng HDD
  • USB
    USB
  • Ổ cứng di động
    Ổ cứng di động
  • Thẻ nhớ
    Thẻ nhớ
  • Đầu đọc thẻ nhớ
    Đầu đọc thẻ nhớ

Gia dụng

  • Thiết bị gia đình
  • Quạt
    Quạt
  • Bàn ủi
    Bàn ủi
  • Máy xông tinh dầu
    Máy xông tinh dầu
  • Máy hút bụi
    Máy hút bụi
  • Bình giữ nhiệt
    Bình giữ nhiệt
  • Nồi cơm điện
    Nồi cơm điện
  • Nồi chiên không dầu
    Nồi chiên không dầu
  • Máy lọc không khí
    Máy lọc không khí
  • Robot hút bụi
    Robot hút bụi
  • Sức khoẻ và làm đẹp
  • Máy tăm nước
    Máy tăm nước
  • Máy massage
    Máy massage
  • Máy cạo râu
    Máy cạo râu
  • Máy cắt tỉa
    Máy cắt tỉa
  • Bàn chải điện
    Bàn chải điện
  • Thiết bị nhà thông minh
  • Máy lọc không khí
    Máy lọc không khí
  • Robot hút bụi
    Robot hút bụi
  • LifeStyle
  • Hydro Flask
    Hydro Flask
  • Balo - Túi chống shock
    Balo - Túi chống shock
  • Chăm sóc cá nhân
    Chăm sóc cá nhân
  • Phụ kiện khác
    Phụ kiện khác

Hàng cũ

  • Điện thoại cũ
  • iPhone cũ
    iPhone cũ
  • Samsung cũ
    Samsung cũ
  • Điện thoại cũ khác
    Điện thoại cũ khác
  • Laptop cũ
  • MacBook cũ
    MacBook cũ
  • iMac cũ
    iMac cũ
  • Máy tính bảng cũ
  • iPad cũ
    iPad cũ
  • Galaxy Tab cũ
    Galaxy Tab cũ
  • Âm thanh cũ
  • Loa cũ
    Loa cũ
  • Tai nghe cũ
    Tai nghe cũ
  • Phụ kiện cũ
  • Phụ kiện
    Phụ kiện
  • Đồng hồ thông minh cũ
  • Đồng hồ
    Đồng hồ

Thu cũ

Kèo thơm

Thông tin hay

Ưu đãi

  • Ưu đãi
  • Săn deal Tháng 04
  • Deals phụ kiện
  • Deals âm thanh
  • Deals công nghệ
  • Deals gia dụng
  • Học sinh - Sinh viên
  • Ưu đãi thanh toán

Tổng đài liên hệ (08h00 - 22h00)

Tư vấn mua hàng 18003355 Hỗ trợ kỹ thuật 18003355 Tư vấn bảo hành 0838335577 Phản ánh dịch vụ 0911335577 Tuyển dụng 0832335577

Liên hệ & mua hàng

  • Chăm sóc khách hàng: cskh@minhtuanmobile.com
  • Báo giá doanh nghiệp: doanhnghiep@minhtuanmobile.com

Chính sách bán hàng

  • Chính Sách Giao Hàng
  • Chính Sách & Quy Định Chung
  • Chính Sách Bảo Hành
  • Chính Sách Bảo Hành Hãng Apple
  • Chính Sách Bảo Hành Mở Rộng
  • Chính Sách Đổi Trả
  • Chính Sách Và Quy Định Hỗ Trợ Sao Lưu, Chuyển Đổi Dữ Liệu
  • Chính Sách Bảo Mật Và Xử Lý Dữ Liệu Cá Nhân
  • Quy Chế Hoạt Động
  • Khách hàng thân thiết

Thông tin, dịch vụ khác

  • Khách hàng doanh nghiệp
  • Thương hiệu phân phối
  • Kèo thơm
  • Trả góp
  • Thu Cũ Đổi Mới
  • Thông tin hay
  • Tuyển dụng

Hình thức thanh toán

Hình thức thanh toán

Liên kết với Minh Tuấn Mobile

  • ZALO Minh Tuấn Mobile

Online.gov.vn DMCA.com Protection Status

Công ty TNHH Minh Tuấn Mobile - GPĐKKD: 0316579658 do sở KH & ĐT TP. HCM cấp ngày 09/11/2020. Địa chỉ: 135/1/8 Nguyễn Hữu Cảnh, Phường Thạnh Mỹ Tây, Tp. Hồ Chí Minh. Điện thoại: 1800 3355 - 0838335577

Chịu trách nhiệm nội dung: Ngư Thị Dự

  • Chat Zalo (8h00 - 22h00)
  • 18003355 (8h00 - 22h00)
  • Messenger (8h00 - 22h00)