Dùng Trước Trả Sau
Hệ thống cửa hàng điện thoại Minh Tuấn Mobile

 Xu hướng tìm kiếm

Đăng ký nhận tin Galaxy S Mới 2026Đăng ký nhận tin Galaxy S Mới 2026
Sẵn hàng MacBook Pro M5Sẵn hàng MacBook Pro M5
iPhone 17 Sẵn HàngiPhone 17 Sẵn Hàng
iPhone Air Sẵn HàngiPhone Air Sẵn Hàng
AirPods Pro 3AirPods Pro 3
Apple Watch S11Apple Watch S11
Apple Watch SE 3Apple Watch SE 3
Ốp lưng PitakaỐp lưng Pitaka
Đế sạc không dây AppleĐế sạc không dây Apple
Ốp lưng AppleỐp lưng Apple
Loa MarshallLoa Marshall
Cốc sạc AppleCốc sạc Apple
  • hotline18003355
  • Giỏ hàngcủa bạn
  • Kiểm tra đơn hàng
  • Hệ Thống Cửa hàng
  • tài khoản Đăng nhập
  • iPhone

    Dòng máy

    • iPhone Air
    • iPhone 17
    • iPhone 16
    • iPhone 15
    • iPhone 14
    • iPhone 13
  • Điện thoại

    Samsung

    • Galaxy Z Series
      • Galaxy Z7 Series
    • Galaxy S Series
      • Galaxy S25 Series
    • Galaxy A Series

    Điện Thoại

    • OPPO
    • Xiaomi
    • HONOR
    • Realme
    • Itel
    • Nokia
  • Mac

    MacBook

    • MacBook Pro
      • MacBook Pro M5
      • MacBook Pro M4
    • MacBook Air
      • MacBook Air M4
      • MacBook Air M3
      • MacBook Air M2

    Mac

    • Mac mini
    • Mac Studio
    • iMac
  • Laptop

    ASUS

    DELL

    Lenovo

    HP

    MSI

  • Tablet

    iPad

    • iPad Air
    • iPad Pro
    • iPad Mini
    • iPad A16

    Galaxy Tab

    • Galaxy Tab Series 10
    • Galaxy Tab Series 11
    • Galaxy Tab A11

    Xiaomi

  • Smartwatch

    Apple Watch

    • Apple Watch S11
    • Apple Watch SE
      • Apple Watch SE 3
    • Apple Watch Ultra
      • Apple Watch Ultra 3

    Galaxy Watch

    • Galaxy Watch8 Series
    • Galaxy Watch Ultra
    • Galaxy Fit3

    Đồng hồ

    • Garmin
    • SoundPeats
    • Xiaomi
  • Màn hình

    Thương hiệu

    • Samsung
    • Dell
    • AOC
    • VIEWSONIC
    • PHILIPS
    • HP
  • PC
  • Âm thanh

    Chọn loại tai nghe

    • Tai nghe chụp tai
    • Tai nghe có dây
    • Tai nghe Bluetooth
    • Tai nghe gaming
    • Tai nghe thể thao

    Chọn loại loa

    • Loa nhỏ gọn
    • Loa Karaoke
    • Loa Soundbar

    Micro

    Thương hiệu loa

    • Bang & Olufsen
    • Bose
    • Marshall
    • JBL
    • SoundPEATS
    • Sony
    • Alpha Works
    • Sounarc
    • Harman Kardon
    • Edifier
    • Thương hiệu khác

    Thương hiệu tai nghe

    • Apple
    • Samsung
    • Bang & Olufsen
    • Bose
    • Marshall
    • JBL
    • SoundPEATS
    • Havit
    • Alpha Works
    • NoThing
    • Earfun
    • Sony
    • QCY
    • Baseus
    • Thương hiệu khác
  • Phụ kiện

    Phụ kiện Apple

    • Ốp lưng Apple
    • Cốc sạc Apple
    • Cáp sạc Apple
    • Pencil Apple
    • Chuột Apple
    • Bàn phím Apple
    • Airtag

    Phụ kiện khác

    • Quạt cầm tay
    • Dây đeo đồng hồ
    • Ổ cắm điện

    Phụ kiện di động

    • Dán màn hình/ Dán cường lực
    • Ốp lưng/ Bao da
    • Dán camera
    • Adapter, củ sạc
    • Cáp sạc
    • Pin sạc dự phòng
    • Giá đỡ điện thoại
    • Gậy chụp ảnh
    • Apple care +
    • Bút cảm ứng
    • Sim số
    • Phụ kiện di động khác

    Thiết bị mạng

    Phụ kiện Laptop

    • Chuột
    • Bàn phím
    • Sạc Laptop
    • Balo/ Túi chống sốc/ Túi đeo chéo
    • Hub chuyển đổi
    • Phần mềm Microsoft
    • Phủ phím
    • Dán màn hình
    • Giá đỡ Laptop

    Camera

    • Camera hành động
    • Camera hành trình
    • Camera an ninh

    Thiết bị lưu trữ

    • USB
    • Thẻ nhớ
    • Ổ cứng di động
    • Ổ cứng SSD
    • Ổ cứng HDD
    • Ổ cứng mạng
    • Box ổ cứng

    Thương hiệu

    • APPLE
    • PITAKA
    • UAG
    • MIPOW
    • BELKIN
    • ZAGG
    • ESR
    • MOPHIE
    • INNOSTYLE
    • JCPAL
    • ANKER
    • DJI
    • MICROSOFT
    • ENERGIZER
    • AUKEY
    • MOCOLL
    • UNIQ
    • 9FIT
    • Ruijie
    • TENDA
    • TP-LINK
    • IMOU
    • EZVIZ
    • SANDISK

    Thương hiệu khác

  • Gia dụng

    Thiết bị gia đình

    • Quạt
    • Bàn ủi
    • Máy hút bụi
    • Robot hút bụi
    • Bình giữ nhiệt
    • Nồi cơm điện
    • Nồi chiên không dầu
    • Máy xông tinh dầu
    • Máy lọc không khí

    Sức khoẻ và làm đẹp

    • Máy cắt tỉa
    • Bàn chải điện
    • Máy tăm nước
    • Máy massage
    • Máy cạo râu

    Thương hiệu

    • XIAOMI
    • DEERMA
    • TEFAL
    • HYDRO FLASK

    Thương hiệu khác

  • Hàng cũ

    Điện thoại cũ

    • iPhone cũ
      • iPhone 17
      • iPhone Air
      • iPhone 16 Series
      • iPhone 15 Series
      • iPhone 14 Series
      • iPhone 13 Series
      • iPhone 12 Series
      • iPhone 11 Series
      • iPhone X Series
    • Samsung cũ
      • Galaxy S Series
      • Galaxy Z Series
      • Galaxy A Series
    • Điện thoại cũ khác

    Máy tính bảng cũ

    • iPad cũ
    • Galaxy Tab cũ

    Laptop cũ

    • MacBook cũ
      • MacBook Air cũ
      • MacBook Pro cũ
    • iMac cũ

    Đồng hồ thông minh cũ

    Phụ kiện cũ

    Âm thanh cũ

    • Loa cũ
    • Tai nghe cũ
  • Thu cũ
  • Kèo thơm
  • Ưu đãi

    Chương trình ưu đãi Tháng 12

    • Tung deal chào giao diện Mới  
    • Sale đón Tết  
    • Minigame nhận lì xì HOT
    • Quà Tết công nghệ HOT
    • Phụ Kiện chỉ từ 19K HOT
    • Deal phụ kiện  
    • Deal âm thanh  
    • Deal gia dụng  
    • Deal công nghệ  
    • Ưu đãi Học sinh - Sinh viên HOT
    • Ưu đãi thanh toán HOT
  • Thông tin hay
  1. Trang chủ
  2. Thông tin hay
  3. Apple Pencil trong tương lai sẽ sở hữu tính năng điều...

Apple Pencil trong tương lai sẽ sở hữu tính năng điều khiển cảm ứng toàn diện

Anthony 25/05/2022 16:00

Apple Pencil trong tương lai sẽ sở hữu tính năng điều khiển cảm ứng toàn diện

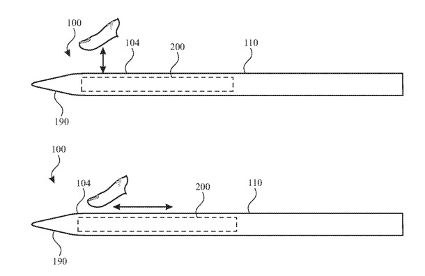
Bên cạnh tính năng nhấn đúp hiện có, Apple Pencil có thể có khả năng nhận dạng các cử chỉ như vuốt, thông qua điều khiển cảm ứng toàn diện hơn.

Apple lắp ráp MacBook và Apple Watch tại Việt Nam
iPhone 6s/Plus và iPhone SE không thể cập nhật lên iOS 15
Những mẹo làm quen với thao tác trên MacBook cho người mới

Apple Pencil 2 đã bổ sung chức năng cho người dùng chọn các mục hoặc thay đổi chế độ bằng cách nhấn đúp vào bảng điều khiển trên thân bút stylus. Apple hiện đã được cấp bằng sáng chế cập nhật có cùng tên và nâng cấp hơn với với bằng sáng chế được cấp cho "Đầu vào dựa trên cảm ứng chạm cho bút cảm ứng" vào tháng 1 năm 2020.

Đã có một số sửa đổi nhỏ, và cả hai bằng sáng chế được cấp này đều liên quan đến việc sử dụng một cảm biến linh hoạt được đặt trong tầm tay của người dùng, có thể cảm biến được đầu vào thông qua xúc giác.
Apple cho biết trong bằng sáng chế của mình: "Đầu vào xúc giác có thể được nhận tại vị trí cầm nắm tự nhiên của người dùng".

Tiếp theo nó còn thể hiện: "Hơn nữa, bút stylus có thể phân biệt hiệu quả giữa các đầu vào xúc giác từ người dùng và bỏ qua các đầu vào xúc giác duy trì được cung cấp, và người dùng chỉ cần giữ bút ở vị trí cầm tự nhiên".

Bằng sáng chế chỉ ra rằng khi đang sử dụng Apple Pencil hoặc bất kỳ bút cảm ứng nào, họ khó có thể đồng thời chạm vào màn hình của iPad hoặc thiết bị tương tự.

                  Apple Pencil trong tương lai sẽ sở hữu tính năng điều khiển cảm ứng toàn diện.

Bằng sáng chế còn thể hiện việc khi người dùng đang cầm bút stylus hoặc thiết bị nhập liệu cảm ứng khác, người dùng có thể bị giới hạn trong các tùy chọn đầu vào được cung cấp. Theo đó, các đầu vào bổ sung được tích hợp sẵn vào thiết bị sẽ cung cấp cho người dùng khả năng mở rộng đầu vào mà không cần phải vận hành đồng thời các thiết bị bổ sung đầu vào khác.

Để làm được điều này, Pencil sẽ phải có một cảm biến cấu hình thấp, chẳng hạn như được thêm vào một thiết bị cảm biến điện dung.

Đơn xin cấp bằng sáng chế này dựa trên những vấn đề khác liên quan đến phần đế và đầu của bút cảm ứng như Apple Pencil, và một số chi tiết trong số đó thậm chí còn sử dụng các hình vẽ giống nhau.

Vào tháng 12 năm 2019, có một bằng sáng chế liên quan đến việc làm thế nào bút cảm ứng của Apple Pencil có thể mô phỏng tốt hơn cảm giác vẽ trên giấy bằng cách sử dụng phản hồi xúc giác. Năm 2015 cũng có một bằng sáng chế tương tự có cùng mục đích nhưng đề cập đến toàn bộ bút cảm ứng.

Một minh chứng cho điều này là từ tháng 12 năm 2019, bút cảm ứng có thể sử dụng máy ảnh để giải mã và ghi lại các đặc điểm vật lý của bề mặt.

Tám nhà phát minh tham gia vào bằng sáng chế mới đều là những người đã có nhiều bằng sáng chế tương tự liên quan đến bút cảm ứng, mẹo và giao tiếp.

Liệu các tính năng cảm ứng này có hoàn hảo? Hãy cùng chờ đợi nhé.

MUA IPHONE 13 CHÍNH HÃNG VN/A GIÁ TỐT NHẤT

 

MUA IPHONE 13 XANH LÁ CHÍNH HÃNG VN/A

 

 

Xem thêm

  • AirPods Pro 3 hay Sony WF1000XM5 đáng mua hơn?
  • So pin iPhone khi dùng Wi-Fi và 5G: Chênh lệch đáng kể!!
  • Những cài đặt cần phải làm ngay khi mua iPhone mới
  • Review iOS 26.3 chính thức: Pin "trâu" kỷ lục, lên đời ngay!
  • Ai nên cập nhật iOS 26.3 chính thức ngay lúc này?
  • Đã có iOS 26.3 chính thức: Mọi nâng cấp bạn cần biết
  • Có nên mua iPhone 13 vào năm 2026?
  • Gợi ý 4 món quà Valentine làm “người ấy” tan chảy
  • Review iPhone 17 Pro: Còn gì tuyệt vời hơn "em" này?!
  • Đánh giá iPhone 17 Pro Max sau 4 tháng: Vẫn là "một vị vua"!

Nguồn: AppleInsider

Tags: Apple Pencil Apple Pencil 2 iPad Apple

Share: FacebookTwitterPinterest

Mời bạn cùng thảo luận

Bạn chưa viết câu hỏi của mình hoặc ít hơn 15 ký tự.

Gửi câu hỏi

Bạn chưa nhập Họ & Tên

Bạn chưa nhập Điện thoại

Bạn chưa nhập Email

Bài viết cùng chủ đề

So pin iPhone khi dùng Wi-Fi và 5G: Chênh lệch đáng kể!!

So pin iPhone khi dùng Wi-Fi và 5G: Chênh lệch đáng kể!!

macOS Tahoe 26.3 ra mắt: Sửa lỗi Finder và cửa sổ khó chịu!

macOS Tahoe 26.3 ra mắt: Sửa lỗi Finder và cửa sổ khó chịu!

Ai nên cập nhật iOS 26.3 chính thức ngay lúc này?

Ai nên cập nhật iOS 26.3 chính thức ngay lúc này?

Galaxy S26 Plus toàn cầu dùng chip gì? Đã có đáp án

Galaxy S26 Plus toàn cầu dùng chip gì? Đã có đáp án

Đã có iOS 26.3 chính thức: Mọi nâng cấp bạn cần biết

Đã có iOS 26.3 chính thức: Mọi nâng cấp bạn cần biết

Facebook lột xác : Avatar cử động nhờ sức mạnh Meta AI

Facebook "lột xác": Avatar cử động nhờ sức mạnh Meta AI

Tổng đài liên hệ (08h00 - 22h00)

Tư vấn mua hàng 18003355 Hỗ trợ kỹ thuật 18003355 Tư vấn bảo hành 0838335577 Phản ánh dịch vụ 0911335577 Tuyển dụng 0832335577

Liên hệ & mua hàng

  • Chăm sóc khách hàng: cskh@minhtuanmobile.com
  • Báo giá doanh nghiệp: doanhnghiep@minhtuanmobile.com

Chính sách bán hàng

  • Chính Sách Giao Hàng
  • Chính Sách & Quy Định Chung
  • Chính Sách Bảo Hành
  • Chính Sách Bảo Hành Hãng Apple
  • Chính Sách Bảo Hành Mở Rộng
  • Chính Sách Đổi Trả
  • Chính Sách Bảo Hành Phụ Kiện
  • Chính Sách Và Quy Định Hỗ Trợ Sao Lưu, Chuyển Đổi Dữ Liệu
  • Chính Sách Bảo Mật Và Xử Lý Dữ Liệu Cá Nhân
  • Quy Chế Hoạt Động
  • Khách hàng thân thiết

Thông tin, dịch vụ khác

  • Đặt hàng iPhone
  • Khách hàng doanh nghiệp
  • Thương hiệu phân phối
  • Kèo thơm
  • Trả góp
  • Thu Cũ Đổi Mới
  • Thông tin hay
  • Tuyển dụng

Hình thức thanh toán

Hình thức thanh toán

Liên kết với Minh Tuấn Mobile

  • ZALO Minh Tuấn Mobile

Online.gov.vn DMCA.com Protection Status

Công ty TNHH Minh Tuấn Mobile - GPĐKKD: 0316579658 do sở KH & ĐT TP. HCM cấp ngày 09/11/2020. Địa chỉ: 135/1/8 Nguyễn Hữu Cảnh, Phường Thạnh Mỹ Tây, Tp. Hồ Chí Minh. Điện thoại: 1800 3355 - 0838335577

Chịu trách nhiệm nội dung: Ngư Thị Dự

Copy LINK thành công.
Minh Tuấn Mobile Minh Tuấn Mobile
Thêm vào giỏ hàng thành công.

Liên hệ đặt hàng

  • Trang chủ
  • Danh mục
  • Cửa hàng
  • Thành viên
  • Xem thêm
Thu cũ
Thu cũ
Kèo thơm
Kèo thơm
Thông tin hay
Thông tin hay

iPhone

  • Dòng máy
  • iPhone Air
    iPhone Air
  • iPhone 17
    iPhone 17
  • iPhone 16
    iPhone 16
  • iPhone 15
    iPhone 15
  • iPhone 14
    iPhone 14
  • iPhone 13
    iPhone 13
  • Mức giá iPhone
  • Dưới 15 triệu
  • Từ 15 - 25 triệu
  • Từ 25 - 35 triệu
  • Trên 35 triệu

Điện Thoại

  • Samsung
  • Galaxy Z Series
    Galaxy Z Series
  • Galaxy S Series
    Galaxy S Series
  • Galaxy A Series
    Galaxy A Series
  • Realme
  • Realme
    Realme
  • Honor
  • HONOR
    HONOR
  • Xiaomi
  • Xiaomi
    Xiaomi
  • OPPO
  • OPPO
    OPPO
  • Nokia
  • Nokia
    Nokia
  • Itel
  • Itel
    Itel

Mac

  • MacBook
  • MacBook Pro
    MacBook Pro
  • MacBook Air
    MacBook Air
  • Mac
  • iMac
    iMac
  • Mac mini
    Mac mini
  • Mac Studio
    Mac Studio

Laptop

  • Thương hiệu
  • MSI
    MSI
  • Asus
    Asus
  • Lenovo
    Lenovo
  • Dell
    Dell
  • HP
    HP
  • Mức giá Laptop
  • Dưới 10 triệu
  • Từ 10 - 20 triệu
  • Từ 20 - 30 triệu

Tablet

  • iPad
  • iPad Air
    iPad Air
  • iPad Pro
    iPad Pro
  • iPad Mini
    iPad Mini
  • iPad A16
    iPad A16
  • Samsung
  • Galaxy Tab Series 10
    Galaxy Tab Series 10
  • Galaxy Tab Series 11
    Galaxy Tab Series 11
  • Galaxy Tab A11
    Galaxy Tab A11
  • Xiaomi
  • Xiaomi
    Xiaomi

Smartwatch

  • Apple Watch
  • Apple Watch SE
    Apple Watch SE
  • Apple Watch S11
    Apple Watch S11
  • Apple Watch Ultra
    Apple Watch Ultra
  • Galaxy Watch
  • Galaxy Watch8 Series
    Galaxy Watch8 Series
  • Galaxy Watch Ultra
    Galaxy Watch Ultra
  • Galaxy Fit3
    Galaxy Fit3
  • Thương hiệu khác
  • Xiaomi
    Xiaomi
  • SoundPeats
    SoundPeats
  • Garmin
    Garmin

Màn hình

  • Thương hiệu
  • SAMSUNG
    SAMSUNG
  • DELL
    DELL
  • AOC
    AOC
  • ViewSonic
    ViewSonic
  • PHILIPS
    PHILIPS
  • HP
    HP

Âm thanh

  • Chọn loại tai nghe
  • Tai nghe chụp tai
    Tai nghe chụp tai
  • Tai nghe có dây
    Tai nghe có dây
  • Tai nghe Bluetooth
    Tai nghe Bluetooth
  • Tai nghe gaming
    Tai nghe gaming
  • Tai nghe thể thao
    Tai nghe thể thao
  • Chọn loại loa
  • Loa Bluetooth
    Loa Bluetooth
  • Loa Karaoke
    Loa Karaoke
  • Loa nhỏ gọn
    Loa nhỏ gọn
  • Thương hiệu
  • Apple
    Apple
  • Samsung
    Samsung
  • B&O
    B&O
  • Bose
    Bose
  • Marshall
    Marshall
  • JBL
    JBL
  • Soundpeats
    Soundpeats
  • Havit
    Havit
  • Alpha Words
    Alpha Words
  • Sounarc
    Sounarc
  • Harman Kardon
    Harman/Kardon

Phụ kiện

  • Phụ kiện di động
  • Dán màn hình Dán cường lực
    Dán màn hình/ Dán cường lực
  • Ốp lưng Bao da
    Ốp lưng/ Bao da
  • Dán camera
    Dán camera
  • Adapter, củ sạc
    Adapter, củ sạc
  • Cáp sạc
    Cáp sạc
  • Pin sạc dự phòng
    Pin sạc dự phòng
  • Giá đỡ điện thoại
    Giá đỡ điện thoại
  • Gậy chụp ảnh
    Gậy chụp ảnh
  • Apple care +
    Apple care +
  • Sim số
    Sim số
  • Phụ kiện di động khác
    Phụ kiện di động khác
  • Phụ kiện Laptop
  • Chuột Bàn phím Bút
    Chuột/ Bàn phím/ Bút
  • Balo Túi chống sốc Túi đeo chéo
    Balo/ Túi chống sốc/ Túi đeo chéo
  • Sạc Laptop
    Sạc Laptop
  • Hub chuyển đổi
    Hub chuyển đổi
  • Phần mềm Microsoft
    Phần mềm Microsoft
  • Phủ phím
    Phủ phím
  • Dán màn hình
    Dán màn hình
  • Giá đỡ Laptop
    Giá đỡ Laptop
  • Camera
  • Camera an ninh
    Camera an ninh
  • Camera hành trình
    Camera hành trình
  • Thiết bị lưu trữ
  • Ổ cứng SSD
    Ổ cứng SSD
  • Ổ cứng HDD
    Ổ cứng HDD
  • USB
    USB
  • Ổ cứng di động
    Ổ cứng di động
  • Thẻ nhớ
    Thẻ nhớ
  • Đầu đọc thẻ nhớ
    Đầu đọc thẻ nhớ

Gia dụng

  • Thiết bị gia đình
  • Quạt
    Quạt
  • Bàn ủi
    Bàn ủi
  • Máy xông tinh dầu
    Máy xông tinh dầu
  • Máy hút bụi
    Máy hút bụi
  • Bình giữ nhiệt
    Bình giữ nhiệt
  • Nồi cơm điện
    Nồi cơm điện
  • Nồi chiên không dầu
    Nồi chiên không dầu
  • Máy lọc không khí
    Máy lọc không khí
  • Robot hút bụi
    Robot hút bụi
  • Sức khoẻ và làm đẹp
  • Máy tăm nước
    Máy tăm nước
  • Máy massage
    Máy massage
  • Máy cạo râu
    Máy cạo râu
  • Máy cắt tỉa
    Máy cắt tỉa
  • Bàn chải điện
    Bàn chải điện
  • Thiết bị nhà thông minh
  • Máy lọc không khí
    Máy lọc không khí
  • Robot hút bụi
    Robot hút bụi
  • LifeStyle
  • Hydro Flask
    Hydro Flask
  • Balo - Túi chống shock
    Balo - Túi chống shock
  • Chăm sóc cá nhân
    Chăm sóc cá nhân
  • Phụ kiện khác
    Phụ kiện khác

Hàng cũ

  • Điện thoại cũ
  • iPhone cũ
    iPhone cũ
  • Samsung cũ
    Samsung cũ
  • Điện thoại cũ khác
    Điện thoại cũ khác
  • Laptop cũ
  • MacBook cũ
    MacBook cũ
  • iMac cũ
    iMac cũ
  • Máy tính bảng cũ
  • iPad cũ
    iPad cũ
  • Galaxy Tab cũ
    Galaxy Tab cũ
  • Âm thanh cũ
  • Loa cũ
    Loa cũ
  • Tai nghe cũ
    Tai nghe cũ
  • Phụ kiện cũ
  • Phụ kiện
    Phụ kiện
  • Đồng hồ thông minh cũ
  • Đồng hồ
    Đồng hồ

Thu cũ

Kèo thơm

Thông tin hay

Ưu đãi

  • Ưu đãi
  • Tung deal chào giao diện mới
  • Minigame nhận lì xì
  • Quà Tết công nghệ
  • Sale đón Tết
  • Học sinh - Sinh viên
  • Ưu đãi thanh toán

Tổng đài liên hệ (08h00 - 22h00)

Tư vấn mua hàng 18003355 Hỗ trợ kỹ thuật 18003355 Tư vấn bảo hành 0838335577 Phản ánh dịch vụ 0911335577 Tuyển dụng 0832335577

Liên hệ & mua hàng

  • Chăm sóc khách hàng: cskh@minhtuanmobile.com
  • Báo giá doanh nghiệp: doanhnghiep@minhtuanmobile.com

Chính sách bán hàng

  • Chính Sách Giao Hàng
  • Chính Sách & Quy Định Chung
  • Chính Sách Bảo Hành
  • Chính Sách Bảo Hành Hãng Apple
  • Chính Sách Bảo Hành Mở Rộng
  • Chính Sách Đổi Trả
  • Chính Sách Bảo Hành Phụ Kiện
  • Chính Sách Và Quy Định Hỗ Trợ Sao Lưu, Chuyển Đổi Dữ Liệu
  • Chính Sách Bảo Mật Và Xử Lý Dữ Liệu Cá Nhân
  • Quy Chế Hoạt Động
  • Khách hàng thân thiết

Thông tin, dịch vụ khác

  • Đặt hàng iPhone
  • Khách hàng doanh nghiệp
  • Thương hiệu phân phối
  • Kèo thơm
  • Trả góp
  • Thu Cũ Đổi Mới
  • Thông tin hay
  • Tuyển dụng

Hình thức thanh toán

Hình thức thanh toán

Liên kết với Minh Tuấn Mobile

  • ZALO Minh Tuấn Mobile

Online.gov.vn DMCA.com Protection Status

Công ty TNHH Minh Tuấn Mobile - GPĐKKD: 0316579658 do sở KH & ĐT TP. HCM cấp ngày 09/11/2020. Địa chỉ: 135/1/8 Nguyễn Hữu Cảnh, Phường Thạnh Mỹ Tây, Tp. Hồ Chí Minh. Điện thoại: 1800 3355 - 0838335577

Chịu trách nhiệm nội dung: Ngư Thị Dự

  • Chat Zalo (8h00 - 22h00)
  • 18003355 (8h00 - 22h00)
  • Messenger (8h00 - 22h00)