Dùng Trước Trả Sau
Hệ thống cửa hàng điện thoại Minh Tuấn Mobile

 Xu hướng tìm kiếm

Galaxy S26 SeriesGalaxy S26 Series
AirTag 2 MớiAirTag 2 Mới
iPhone 17 sẵn hàngiPhone 17 sẵn hàng
MacBook Neo giá tốtMacBook Neo giá tốt
AirPods 4AirPods 4
iPhone Air sẵn hàngiPhone Air sẵn hàng
Apple Watch S11Apple Watch S11
Ốp lưng PitakaỐp lưng Pitaka
Osmo Pocket 4Osmo Pocket 4
Ốp lưng AppleỐp lưng Apple
Loa MarshallLoa Marshall
Cốc sạc AppleCốc sạc Apple
  • hotline18003355
  • Giỏ hàngcủa bạn
  • Kiểm tra đơn hàng
  • Hệ Thống Cửa hàng
  • tài khoản Đăng nhập
  • iPhone
    iPhone

    Dòng máy

    • iPhone Air
    • iPhone 17
    • iPhone 16
    • iPhone 15
    • iPhone 14
    • iPhone 13
  • Điện thoại

    Samsung

    • Galaxy Z Series
      • Galaxy Z7 Series
    • Galaxy S Series
      • Galaxy S26 Series
      • Galaxy S25 Series
    • Galaxy A Series

    Điện Thoại

    • OPPO
    • Xiaomi
    • HONOR
    • Realme
    • Nokia
  • Mac
    Mac

    MacBook

    • MacBook Neo Mới
    • MacBook Air
      • MacBook Air M5 Mới
      • MacBook Air 13 inch
      • MacBook Air 15 inch
    • MacBook Pro
      • MacBook Pro M5
      • MacBook Pro 14 inch
      • MacBook Pro 16 inch

    Mac

    • Mac mini
    • Mac Studio
    • iMac
  • Laptop

    ASUS

    DELL

    Lenovo

    HP

    MSI

  • Tablet
    Tablet

    iPad

    • iPad Air
      • iPad Air M4 Mới
      • iPad Air M3
    • iPad Pro
      • 11 inch
      • 13 inch
    • iPad A16
    • iPad Mini
    • iPad 11 inch
    • iPad 13 inch

    Galaxy Tab

    • Galaxy Tab Series 10
    • Galaxy Tab Series 11
    • Galaxy Tab A11

    Xiaomi

  • Smartwatch

    Apple Watch

    • Apple Watch S11
    • Apple Watch SE
      • Apple Watch SE 3
    • Apple Watch Ultra
      • Apple Watch Ultra 3

    Galaxy Watch

    • Galaxy Watch8 Series
    • Galaxy Watch Ultra
    • Galaxy Fit3

    Đồng hồ

    • Garmin
    • SoundPeats
    • Xiaomi
  • Màn hình

    Màn hình

    • Samsung
    • Dell
    • AOC
    • VIEWSONIC
    • PHILIPS
    • VSP

    Máy chiếu

    • MicroPack

    Mực in

    • i-Aicon
    • HP
  • PC
  • Âm thanh

    Chọn loại tai nghe

    • Tai nghe chụp tai
    • Tai nghe có dây
    • Tai nghe Bluetooth
    • Tai nghe gaming
    • Tai nghe thể thao

    Chọn loại loa

    • Loa nhỏ gọn
    • Loa Karaoke
    • Loa Soundbar

    Micro

    Thương hiệu loa

    • Bang & Olufsen
    • Bose
    • Marshall
    • JBL
    • SoundPEATS
    • Sony
    • Alpha Works
    • Sounarc
    • Harman Kardon
    • Edifier
    • Thương hiệu khác

    Thương hiệu tai nghe

    • Apple
    • Samsung
    • Bang & Olufsen
    • Bose
    • Marshall
    • JBL
    • SoundPEATS
    • Havit
    • Alpha Works
    • NoThing
    • Earfun
    • Sony
    • QCY
    • Baseus
    • Thương hiệu khác
  • Phụ kiện

    Phụ kiện Apple

    • Ốp lưng Apple
    • Cốc sạc Apple
    • Cáp sạc Apple
    • Pencil Apple
    • Chuột Apple
    • Bàn phím Apple
    • Airtag

    Phụ kiện khác

    • Quạt cầm tay
    • Dây đeo đồng hồ
    • Ổ cắm điện

    Phụ kiện di động

    • Dán màn hình/ Dán cường lực
    • Ốp lưng/ Bao da
    • Dán camera
    • Adapter, củ sạc
    • Cáp sạc
    • Pin sạc dự phòng
    • Giá đỡ điện thoại
    • Gậy chụp ảnh
    • Apple care +
    • Bút cảm ứng
    • Sim số
    • Phụ kiện di động khác

    Thiết bị mạng

    Phụ kiện Laptop

    • Chuột
    • Bàn phím
    • Sạc Laptop
    • Balo/ Túi chống sốc/ Túi đeo chéo
    • Hub chuyển đổi
    • Phần mềm Microsoft / Adobe
    • Phủ phím
    • Dán màn hình
    • Giá đỡ Laptop

    Camera

    • Camera hành động
    • Camera hành trình
    • Camera an ninh

    Thiết bị lưu trữ

    • USB
    • Thẻ nhớ
    • Ổ cứng di động
    • Ổ cứng SSD
    • Ổ cứng HDD
    • Ổ cứng mạng
    • Box ổ cứng

    Thương hiệu

    • APPLE
    • PITAKA
    • UAG
    • MIPOW
    • BELKIN
    • ZAGG
    • ESR
    • MOPHIE
    • INNOSTYLE
    • JCPAL
    • ANKER
    • DJI
    • MICROSOFT
    • ENERGIZER
    • AUKEY
    • MOCOLL
    • UNIQ
    • 9FIT
    • XTREM
    • TENDA
    • TP-LINK
    • IMOU
    • EZVIZ
    • SANDISK

    Thương hiệu khác

  • Gia dụng

    Thiết bị gia đình

    • Quạt
    • Bàn ủi
    • Máy hút bụi
    • Robot hút bụi
    • Bình giữ nhiệt
    • Nồi cơm điện
    • Nồi chiên không dầu
    • Máy xông tinh dầu
    • Máy lọc không khí

    Sức khoẻ và làm đẹp

    • Máy cắt tỉa
    • Bàn chải điện
    • Máy tăm nước
    • Máy massage
    • Máy cạo râu

    Thương hiệu

    • XIAOMI
    • DEERMA
    • TEFAL
    • HYDRO FLASK

    Thương hiệu khác

  • Hàng cũ

    Điện thoại cũ

    • iPhone cũ
      • iPhone 17
      • iPhone Air
      • iPhone 16 Series
      • iPhone 15 Series
      • iPhone 14 Series
      • iPhone 13 Series
      • iPhone 12 Series
      • iPhone 11 Series
      • iPhone X Series
    • Samsung cũ
      • Galaxy S Series
      • Galaxy Z Series
      • Galaxy A Series
    • Điện thoại cũ khác

    Máy tính bảng cũ

    • iPad cũ
    • Galaxy Tab cũ

    Laptop cũ

    • MacBook cũ
    • iMac cũ

    Đồng hồ thông minh cũ

    Phụ kiện cũ

    Âm thanh cũ

    • Loa cũ
    • Tai nghe cũ
  • Thu cũ
    Thu cũ
  • Kèo thơm
  • Ưu đãi

    Chương trình ưu đãi Tháng 05/2026

    • Khuyến mãi tháng 5 HOT
    • Ưu đãi Học sinh - Sinh viên HOT
    • Ưu đãi thanh toán HOT
    • Ưu đãi Laptop  
    • Ưu đãi Âm Thanh  
    • Ưu đãi Phụ Kiện  
    • Ưu đãi Gia Dụng  
    • Ưu đãi chỉ từ 39K HOT
  • Thông tin hay
  1. Trang chủ
  2. Thông tin hay
  3. Apple Pencil trong tương lai có thể phát hiện màu sắc và...

Apple Pencil trong tương lai có thể phát hiện màu sắc và kết cấu

Anthony 05/01/2023 09:00

Apple Pencil trong tương lai có thể phát hiện màu sắc và kết cấu

Apple có thể đang lên kế hoạch cho một thế giới thực tương đương với công cụ hình ống nhỏ giọt quen thuộc trong các ứng dụng hình ảnh, trong đó một màu có thể được thiết lập bằng cách chạm vào Apple Pencil trên một hình ảnh hiện có.

Trở lại năm 2019, Apple đã nộp đơn xin cấp bằng sáng chế liên quan đến việc Apple Pencil có thể bao gồm màn hình tích hợp để hiển thị các màu khác nhau. Ý tưởng trong trường hợp đó là người dùng sẽ thấy bút màu hoặc nét cọ sắp được áp dụng.

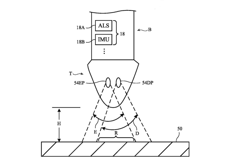
Hiện tại, một ứng dụng bằng sáng chế mới đã dường như mô tả rõ ràng và mở rộng điều này. Theo đề xuất trong "Thiết bị điện tử có cảm biến quang học để lấy mẫu bề mặt", thì đầu bút chì có thể cảm nhận được màu sắc.

Ứng dụng bằng sáng chế tương tự này đã lặp lại một cách hiệu quả một số ứng dụng trước đó về cách người dùng có thể thay đổi hoặc chọn màu sắc thông qua một số cách điều khiển trên Apple Pencil. Nhưng điểm mới quan trọng là chúng ta có thể nhấn đầu bút stylus vào một màu để xác định và sao chép màu đó - bất kể màu đó ở đâu.

Apple cho biết: “Cảm biến màu có thể được sử dụng để lấy mẫu màu trên bề mặt của vật thể bên ngoài. Vì vậy, đây không chỉ là việc chạm Apple Pencil vào một hình ảnh trên màn hình iPad, mà còn có thể là chạm đầu bút vào các vật thể trong thế giới thực.

Apple Pencil trong tương lai có thể phát hiện màu sắc và kết cấu

Apple tiếp tục: “Cảm biến màu có thể có một bộ dò ánh sáng cảm biến màu có nhiều bộ tách sóng quang, mỗi bộ này sẽ đo ánh sáng cho một kênh màu tương ứng khác nhau”. "Cảm biến màu cũng có thể có bộ phát sáng, và phổ ánh sáng có thể được điều chỉnh trong quá trình đo cảm biến màu bằng cách sử dụng thông tin như phép đo màu ánh sáng xung quanh."

Vì vậy, nó dự định sẽ được sử dụng trên các đối tượng vật lý. Và một khi bạn bắt đầu làm điều đó, có thể sẽ có nhiều điều mà một số Apple Pencil trong tương lai hoặc thiết bị khác có thể làm được.

Apple giải thích: “Các phép đo kết cấu và các phép đo khác về bề ngoài của vật thể cũng có thể được thực hiện”. "Kết cấu có thể được đo bằng cách sử dụng ánh sáng chiếu vào bề mặt của vật thể bên ngoài ở các góc liếc."

Phần lớn đơn đăng ký bằng sáng chế dài 12.000 từ này tập trung vào việc xác định thiết bị lấy mẫu (một vỏ hình trụ hoặc hình bút chì) và cách sử dụng dữ liệu lấy mẫu sau đó.

Điều quan trọng cần lưu ý là đây là một ứng dụng bằng sáng chế, nó vẫn chưa được cấp. Ngoài ra, Apple đã đăng ký hàng trăm bằng sáng chế và ngay cả khi chúng được cấp, không có gì đảm bảo rằng nó sẽ dẫn đến một sản phẩm thương mại.

AppleInsider sẽ trực tiếp đưa tin về Triển lãm Điện tử Tiêu dùng 2023 từ ngày 2 tháng 1 đến ngày 8 tháng 1 - nơi chúng ta mong đợi các thiết bị Wi-Fi 6e, HomeKit, phụ kiện Apple, màn hình 8K,...

Bạn có mong chờ sản phẩm này sẽ xuất hiện trên thị trường? Hãy để lại ý kiến ở phần nhận xét bên dưới.

MUA IPAD CHÍNH HÃNG GIÁ TỐT

Xem thêm

  • Hướng dẫn kết nối bàn phím với iPad tối ưu từ A-Z
  • Ưu đãi sales khung giờ vàng: MacBook, iPad giảm đến 500k
  • Giảm giá iPhone 17 và sản phẩm Apple, đón hè chill cùng Minh Tuấn Mobile
  • Ưu đãi tháng 5 dành cho khách hàng làm việc khu công nghiệp
  • Sale mừng đại lễ trọn bộ siêu phẩm Apple giá sốc
  • Cách chọn cấu hình iPad Air M4 phù hợp với nhu cầu
  • iPad Air M4 cập nhật RAM 12GB: Có đáng để nâng cấp không?
  • iPad A16 và iPad mini 7: Khác gì, dòng nào đáng tiền hơn?
  • iPad Pro M5 có "hợp gu" dân vẽ? Chọn phiên bản phù hợp nhất
  • Bảng giá iPad tháng 4/2026: Chưa đến 10 triệu cho iPad A16

Nguồn: AppleInsider

Tags: Apple Pencil iPad

Share: FacebookTwitterPinterest

Mời bạn cùng thảo luận

Bạn chưa viết câu hỏi của mình hoặc ít hơn 15 ký tự.

Gửi câu hỏi

Bạn chưa nhập Họ & Tên

Bạn chưa nhập Điện thoại

Bạn chưa nhập Email

Bài viết cùng chủ đề

Cận cảnh Xiaomi Band 10 Pro bản gốm cực sang, giá rẻ đến khó tin

Cận cảnh Xiaomi Band 10 Pro bản gốm cực sang, giá rẻ đến khó tin

Galaxy Z Flip 8 chính thức lộ diện: Mỏng hơn, nhẹ hơn, gần như không còn nếp gấp

Galaxy Z Flip 8 chính thức lộ diện: Mỏng hơn, nhẹ hơn, gần như không còn nếp gấp

Đột phá iOS 27 đưa Siri vào Camera, iPhone tự quét calo

Đột phá iOS 27 đưa Siri vào Camera, iPhone tự quét calo

Danh sách iPhone lên iOS 27: Bùng nổ AI và vệ tinh 5G

Danh sách iPhone lên iOS 27: Bùng nổ AI và vệ tinh 5G

Xiaomi Gaming Mouse 2: Chuột eSports sở hữu cảm biến PixArt đầu bảng

Xiaomi Gaming Mouse 2: Chuột eSports sở hữu cảm biến PixArt đầu bảng

Micro DJI trình làng Mic Mini 2 thời trang ra mắt dành cho Content Creator

Micro DJI trình làng Mic Mini 2 thời trang ra mắt dành cho Content Creator

Tổng đài liên hệ (08h00 - 22h00)

Tư vấn mua hàng 18003355 Hỗ trợ kỹ thuật 18003355 Tư vấn bảo hành 0838335577 Phản ánh dịch vụ 0911335577 Tuyển dụng 0832335577

Liên hệ & mua hàng

  • Chăm sóc khách hàng: cskh@minhtuanmobile.com
  • Báo giá doanh nghiệp: doanhnghiep@minhtuanmobile.com

Chính sách bán hàng

  • Chính Sách Giao Hàng
  • Chính Sách & Quy Định Chung
  • Chính Sách Bảo Hành
  • Chính Sách Bảo Hành Hãng Apple
  • Chính Sách Bảo Hành Mở Rộng
  • Chính Sách Đổi Trả
  • Chính Sách Và Quy Định Hỗ Trợ Sao Lưu, Chuyển Đổi Dữ Liệu
  • Chính Sách Bảo Mật Và Xử Lý Dữ Liệu Cá Nhân
  • Quy Chế Hoạt Động
  • Khách hàng thân thiết

Thông tin, dịch vụ khác

  • Khách hàng doanh nghiệp
  • Thương hiệu phân phối
  • Kèo thơm
  • Trả góp
  • Thu Cũ Đổi Mới
  • Thông tin hay
  • Tuyển dụng

Hình thức thanh toán

Hình thức thanh toán

Liên kết với Minh Tuấn Mobile

  • ZALO Minh Tuấn Mobile

Online.gov.vn DMCA.com Protection Status

Công ty TNHH Minh Tuấn Mobile - GPĐKKD: 0316579658 do sở KH & ĐT TP. HCM cấp ngày 09/11/2020. Địa chỉ: 135/1/8 Nguyễn Hữu Cảnh, Phường Thạnh Mỹ Tây, Tp. Hồ Chí Minh. Điện thoại: 1800 3355 - 0838335577

Chịu trách nhiệm nội dung: Ngư Thị Dự

Copy LINK thành công.
Minh Tuấn Mobile Minh Tuấn Mobile
Thêm vào giỏ hàng thành công.

Liên hệ đặt hàng

  • Trang chủ
  • Danh mục
  • Cửa hàng
  • Thành viên
  • Xem thêm
Thu cũ
Thu cũThu cũ
Kèo thơm
Kèo thơm
Thông tin hay
Thông tin hay

iPhone

  • Dòng máy
  • iPhone Air
    iPhone Air
  • iPhone 17
    iPhone 17
  • iPhone 16
    iPhone 16
  • iPhone 15
    iPhone 15
  • iPhone 14
    iPhone 14
  • iPhone 13
    iPhone 13
  • Mức giá iPhone
  • Dưới 15 triệu
  • Từ 15 - 25 triệu
  • Từ 25 - 35 triệu
  • Trên 35 triệu

Điện Thoại

  • Samsung
  • Galaxy Z Series
    Galaxy Z Series
  • Galaxy S Series
    Galaxy S Series
  • Galaxy A Series
    Galaxy A Series
  • Realme
  • Realme
    Realme
  • Honor
  • HONOR
    HONOR
  • Xiaomi
  • Xiaomi
    Xiaomi
  • OPPO
  • OPPO
    OPPO
  • Nokia
  • Nokia
    Nokia

Mac

  • MacBook
  • MacBook Neo
    MacBook Neo
  • MacBook Air
    MacBook Air
  • MacBook Pro
    MacBook Pro
  • Mac
  • iMac
    iMac
  • Mac mini
    Mac mini
  • Mac Studio
    Mac Studio

Laptop

  • Thương hiệu
  • MSI
    MSI
  • Asus
    Asus
  • Lenovo
    Lenovo
  • Dell
    Dell
  • HP
    HP
  • Mức giá Laptop
  • Dưới 10 triệu
  • Từ 10 - 20 triệu
  • Từ 20 - 30 triệu

Tablet

  • iPad
  • iPad Air
    iPad Air
  • iPad Pro
    iPad Pro
  • iPad A16
    iPad A16
  • iPad Mini
    iPad Mini
  • iPad 11 inch
    iPad 11 inch
  • iPad 13 inch
    iPad 13 inch
  • Samsung
  • Galaxy Tab Series 10
    Galaxy Tab Series 10
  • Galaxy Tab Series 11
    Galaxy Tab Series 11
  • Galaxy Tab A11
    Galaxy Tab A11
  • Xiaomi
  • Xiaomi
    Xiaomi

Smartwatch

  • Apple Watch
  • Apple Watch SE
    Apple Watch SE
  • Apple Watch S11
    Apple Watch S11
  • Apple Watch Ultra
    Apple Watch Ultra
  • Galaxy Watch
  • Galaxy Watch8 Series
    Galaxy Watch8 Series
  • Galaxy Watch Ultra
    Galaxy Watch Ultra
  • Galaxy Fit3
    Galaxy Fit3
  • Thương hiệu khác
  • Xiaomi
    Xiaomi
  • SoundPeats
    SoundPeats
  • Garmin
    Garmin

Màn hình

  • Máy chiếu
  • MicroPack
    MicroPack
  • Mực in
  • i-Aicon
    i-Aicon
  • HP
    HP
  • Màn hình
  • SAMSUNG
    SAMSUNG
  • DELL
    DELL
  • AOC
    AOC
  • ViewSonic
    ViewSonic
  • PHILIPS
    PHILIPS
  • VSP
    VSP

Âm thanh

  • Chọn loại tai nghe
  • Tai nghe chụp tai
    Tai nghe chụp tai
  • Tai nghe có dây
    Tai nghe có dây
  • Tai nghe Bluetooth
    Tai nghe Bluetooth
  • Tai nghe gaming
    Tai nghe gaming
  • Tai nghe thể thao
    Tai nghe thể thao
  • Chọn loại loa
  • Loa Bluetooth
    Loa Bluetooth
  • Loa Karaoke
    Loa Karaoke
  • Loa nhỏ gọn
    Loa nhỏ gọn
  • Thương hiệu
  • Apple
    Apple
  • Samsung
    Samsung
  • B&O
    B&O
  • Bose
    Bose
  • Marshall
    Marshall
  • JBL
    JBL
  • Soundpeats
    Soundpeats
  • Havit
    Havit
  • Alpha Words
    Alpha Words
  • Sounarc
    Sounarc
  • Harman Kardon
    Harman/Kardon

Phụ kiện

  • Phụ kiện di động
  • Dán màn hình Dán cường lực
    Dán màn hình/ Dán cường lực
  • Ốp lưng Bao da
    Ốp lưng/ Bao da
  • Dán camera
    Dán camera
  • Adapter, củ sạc
    Adapter, củ sạc
  • Cáp sạc
    Cáp sạc
  • Pin sạc dự phòng
    Pin sạc dự phòng
  • Giá đỡ điện thoại
    Giá đỡ điện thoại
  • Gậy chụp ảnh
    Gậy chụp ảnh
  • Apple care +
    Apple care +
  • Sim số
    Sim số
  • Phụ kiện di động khác
    Phụ kiện di động khác
  • Phụ kiện Laptop
  • Chuột Bàn phím Bút
    Chuột/ Bàn phím/ Bút
  • Balo Túi chống sốc Túi đeo chéo
    Balo/ Túi chống sốc/ Túi đeo chéo
  • Sạc Laptop
    Sạc Laptop
  • Hub chuyển đổi
    Hub chuyển đổi
  • Phần mềm
    Phần mềm
  • Phủ phím
    Phủ phím
  • Dán màn hình
    Dán màn hình
  • Giá đỡ Laptop
    Giá đỡ Laptop
  • Camera
  • Camera hành động
    Camera hành động
  • Camera an ninh
    Camera an ninh
  • Camera hành trình
    Camera hành trình
  • Thiết bị lưu trữ
  • Ổ cứng SSD
    Ổ cứng SSD
  • Ổ cứng HDD
    Ổ cứng HDD
  • USB
    USB
  • Ổ cứng di động
    Ổ cứng di động
  • Thẻ nhớ
    Thẻ nhớ
  • Đầu đọc thẻ nhớ
    Đầu đọc thẻ nhớ

Gia dụng

  • Thiết bị gia đình
  • Quạt
    Quạt
  • Bàn ủi
    Bàn ủi
  • Máy xông tinh dầu
    Máy xông tinh dầu
  • Máy hút bụi
    Máy hút bụi
  • Bình giữ nhiệt
    Bình giữ nhiệt
  • Nồi cơm điện
    Nồi cơm điện
  • Nồi chiên không dầu
    Nồi chiên không dầu
  • Máy lọc không khí
    Máy lọc không khí
  • Robot hút bụi
    Robot hút bụi
  • Sức khoẻ và làm đẹp
  • Máy tăm nước
    Máy tăm nước
  • Máy massage
    Máy massage
  • Máy cạo râu
    Máy cạo râu
  • Máy cắt tỉa
    Máy cắt tỉa
  • Bàn chải điện
    Bàn chải điện
  • Thiết bị nhà thông minh
  • Máy lọc không khí
    Máy lọc không khí
  • Robot hút bụi
    Robot hút bụi
  • LifeStyle
  • Hydro Flask
    Hydro Flask
  • Balo - Túi chống shock
    Balo - Túi chống shock
  • Chăm sóc cá nhân
    Chăm sóc cá nhân
  • Phụ kiện khác
    Phụ kiện khác

Hàng cũ

  • Điện thoại cũ
  • iPhone cũ
    iPhone cũ
  • Samsung cũ
    Samsung cũ
  • Điện thoại cũ khác
    Điện thoại cũ khác
  • Laptop cũ
  • MacBook cũ
    MacBook cũ
  • iMac cũ
    iMac cũ
  • Máy tính bảng cũ
  • iPad cũ
    iPad cũ
  • Galaxy Tab cũ
    Galaxy Tab cũ
  • Âm thanh cũ
  • Loa cũ
    Loa cũ
  • Tai nghe cũ
    Tai nghe cũ
  • Phụ kiện cũ
  • Phụ kiện
    Phụ kiện
  • Đồng hồ thông minh cũ
  • Đồng hồ
    Đồng hồ

Thu cũ

Kèo thơm

Thông tin hay

Ưu đãi

  • Ưu đãi
  • Ưu đãi Laptop
  • Ưu đãi Âm Thanh
  • Ưu đãi Phụ Kiện
  • Ưu đãi Gia Dụng
  • Ưu đãi chỉ từ 39K
  • Săn deal Tháng 5
  • Học sinh - Sinh viên
  • Ưu đãi thanh toán

Tổng đài liên hệ (08h00 - 22h00)

Tư vấn mua hàng 18003355 Hỗ trợ kỹ thuật 18003355 Tư vấn bảo hành 0838335577 Phản ánh dịch vụ 0911335577 Tuyển dụng 0832335577

Liên hệ & mua hàng

  • Chăm sóc khách hàng: cskh@minhtuanmobile.com
  • Báo giá doanh nghiệp: doanhnghiep@minhtuanmobile.com

Chính sách bán hàng

  • Chính Sách Giao Hàng
  • Chính Sách & Quy Định Chung
  • Chính Sách Bảo Hành
  • Chính Sách Bảo Hành Hãng Apple
  • Chính Sách Bảo Hành Mở Rộng
  • Chính Sách Đổi Trả
  • Chính Sách Và Quy Định Hỗ Trợ Sao Lưu, Chuyển Đổi Dữ Liệu
  • Chính Sách Bảo Mật Và Xử Lý Dữ Liệu Cá Nhân
  • Quy Chế Hoạt Động
  • Khách hàng thân thiết

Thông tin, dịch vụ khác

  • Khách hàng doanh nghiệp
  • Thương hiệu phân phối
  • Kèo thơm
  • Trả góp
  • Thu Cũ Đổi Mới
  • Thông tin hay
  • Tuyển dụng

Hình thức thanh toán

Hình thức thanh toán

Liên kết với Minh Tuấn Mobile

  • ZALO Minh Tuấn Mobile

Online.gov.vn DMCA.com Protection Status

Công ty TNHH Minh Tuấn Mobile - GPĐKKD: 0316579658 do sở KH & ĐT TP. HCM cấp ngày 09/11/2020. Địa chỉ: 135/1/8 Nguyễn Hữu Cảnh, Phường Thạnh Mỹ Tây, Tp. Hồ Chí Minh. Điện thoại: 1800 3355 - 0838335577

Chịu trách nhiệm nội dung: Ngư Thị Dự

  • Chat Zalo (8h00 - 22h00)
  • 18003355 (8h00 - 22h00)
  • Messenger (8h00 - 22h00)