Dùng Trước Trả Sau
Hệ thống cửa hàng điện thoại Minh Tuấn Mobile

 Xu hướng tìm kiếm

Mở bán Galaxy S26 SeriesMở bán Galaxy S26 Series
AirTag 2 MớiAirTag 2 Mới
iPhone 17 sẵn hàngiPhone 17 sẵn hàng
MacBook Neo giá tốtMacBook Neo giá tốt
AirPods 4AirPods 4
iPhone Air sẵn hàngiPhone Air sẵn hàng
Apple Watch S11Apple Watch S11
Ốp lưng PitakaỐp lưng Pitaka
Đế sạc không dây AppleĐế sạc không dây Apple
Ốp lưng AppleỐp lưng Apple
Loa MarshallLoa Marshall
Cốc sạc AppleCốc sạc Apple
  • hotline18003355
  • Giỏ hàngcủa bạn
  • Kiểm tra đơn hàng
  • Hệ Thống Cửa hàng
  • tài khoản Đăng nhập
  • iPhone

    Dòng máy

    • iPhone Air
    • iPhone 17
    • iPhone 16
    • iPhone 15
    • iPhone 14
    • iPhone 13
  • Điện thoại

    Samsung

    • Galaxy Z Series
      • Galaxy Z7 Series
    • Galaxy S Series
      • Galaxy S26 Series
      • Galaxy S25 Series
    • Galaxy A Series

    Điện Thoại

    • OPPO
    • Xiaomi
    • HONOR
    • Realme
    • Itel
    • Nokia
  • Mac

    MacBook

    • MacBook Neo Mới
    • MacBook Air
      • MacBook Air M5 Mới
      • MacBook Air M4
      • MacBook Air M3
      • MacBook Air M2
    • MacBook Pro
      • MacBook Pro M5

    Mac

    • Mac mini
    • Mac Studio
    • iMac
  • Laptop

    ASUS

    DELL

    Lenovo

    HP

    MSI

  • Tablet

    iPad

    • iPad Air
      • iPad Air M4 Mới
      • iPad Air M3
    • iPad Pro
    • iPad Mini
    • iPad A16

    Galaxy Tab

    • Galaxy Tab Series 10
    • Galaxy Tab Series 11
    • Galaxy Tab A11

    Xiaomi

  • Smartwatch

    Apple Watch

    • Apple Watch S11
    • Apple Watch SE
      • Apple Watch SE 3
    • Apple Watch Ultra
      • Apple Watch Ultra 3

    Galaxy Watch

    • Galaxy Watch8 Series
    • Galaxy Watch Ultra
    • Galaxy Fit3

    Đồng hồ

    • Garmin
    • SoundPeats
    • Xiaomi
  • Màn hình

    Thương hiệu

    • Samsung
    • Dell
    • AOC
    • VIEWSONIC
    • PHILIPS
    • HP
  • PC
  • Âm thanh

    Chọn loại tai nghe

    • Tai nghe chụp tai
    • Tai nghe có dây
    • Tai nghe Bluetooth
    • Tai nghe gaming
    • Tai nghe thể thao

    Chọn loại loa

    • Loa nhỏ gọn
    • Loa Karaoke
    • Loa Soundbar

    Micro

    Thương hiệu loa

    • Bang & Olufsen
    • Bose
    • Marshall
    • JBL
    • SoundPEATS
    • Sony
    • Alpha Works
    • Sounarc
    • Harman Kardon
    • Edifier
    • Thương hiệu khác

    Thương hiệu tai nghe

    • Apple
    • Samsung
    • Bang & Olufsen
    • Bose
    • Marshall
    • JBL
    • SoundPEATS
    • Havit
    • Alpha Works
    • NoThing
    • Earfun
    • Sony
    • QCY
    • Baseus
    • Thương hiệu khác
  • Phụ kiện

    Phụ kiện Apple

    • Ốp lưng Apple
    • Cốc sạc Apple
    • Cáp sạc Apple
    • Pencil Apple
    • Chuột Apple
    • Bàn phím Apple
    • Airtag

    Phụ kiện khác

    • Quạt cầm tay
    • Dây đeo đồng hồ
    • Ổ cắm điện

    Phụ kiện di động

    • Dán màn hình/ Dán cường lực
    • Ốp lưng/ Bao da
    • Dán camera
    • Adapter, củ sạc
    • Cáp sạc
    • Pin sạc dự phòng
    • Giá đỡ điện thoại
    • Gậy chụp ảnh
    • Apple care +
    • Bút cảm ứng
    • Sim số
    • Phụ kiện di động khác

    Thiết bị mạng

    Phụ kiện Laptop

    • Chuột
    • Bàn phím
    • Sạc Laptop
    • Balo/ Túi chống sốc/ Túi đeo chéo
    • Hub chuyển đổi
    • Phần mềm Microsoft
    • Phủ phím
    • Dán màn hình
    • Giá đỡ Laptop

    Camera

    • Camera hành động
    • Camera hành trình
    • Camera an ninh

    Thiết bị lưu trữ

    • USB
    • Thẻ nhớ
    • Ổ cứng di động
    • Ổ cứng SSD
    • Ổ cứng HDD
    • Ổ cứng mạng
    • Box ổ cứng

    Thương hiệu

    • APPLE
    • PITAKA
    • UAG
    • MIPOW
    • BELKIN
    • ZAGG
    • ESR
    • MOPHIE
    • INNOSTYLE
    • JCPAL
    • ANKER
    • DJI
    • MICROSOFT
    • ENERGIZER
    • AUKEY
    • MOCOLL
    • UNIQ
    • 9FIT
    • XTREM
    • TENDA
    • TP-LINK
    • IMOU
    • EZVIZ
    • SANDISK

    Thương hiệu khác

  • Gia dụng

    Thiết bị gia đình

    • Quạt
    • Bàn ủi
    • Máy hút bụi
    • Robot hút bụi
    • Bình giữ nhiệt
    • Nồi cơm điện
    • Nồi chiên không dầu
    • Máy xông tinh dầu
    • Máy lọc không khí

    Sức khoẻ và làm đẹp

    • Máy cắt tỉa
    • Bàn chải điện
    • Máy tăm nước
    • Máy massage
    • Máy cạo râu

    Thương hiệu

    • XIAOMI
    • DEERMA
    • TEFAL
    • HYDRO FLASK

    Thương hiệu khác

  • Hàng cũ

    Điện thoại cũ

    • iPhone cũ
      • iPhone 17
      • iPhone Air
      • iPhone 16 Series
      • iPhone 15 Series
      • iPhone 14 Series
      • iPhone 13 Series
      • iPhone 12 Series
      • iPhone 11 Series
      • iPhone X Series
    • Samsung cũ
      • Galaxy S Series
      • Galaxy Z Series
      • Galaxy A Series
    • Điện thoại cũ khác

    Máy tính bảng cũ

    • iPad cũ
    • Galaxy Tab cũ

    Laptop cũ

    • MacBook cũ
      • MacBook Air cũ
      • MacBook Pro cũ
    • iMac cũ

    Đồng hồ thông minh cũ

    Phụ kiện cũ

    Âm thanh cũ

    • Loa cũ
    • Tai nghe cũ
  • Thu cũ
  • Kèo thơm
  • Ưu đãi

    Chương trình ưu đãi Tháng 12

    • Săn sale ngày 12.03 - 15.03  
    • Tháng của Nàng, săn deal hời  
    • Deals phụ kiện  
    • Deals âm thanh  
    • Deals sản phẩm công nghệ  
    • Deals sản phẩm gia dụng  
    • Ưu đãi Học sinh - Sinh viên HOT
    • Ưu đãi thanh toán HOT
  • Thông tin hay
  1. Trang chủ
  2. Thông tin hay
  3. iPhone và Apple Watch trong tương lai có thể tự động làm...

iPhone và Apple Watch trong tương lai có thể tự động làm sạch, không cần vệ sinh

Anthony 31/07/2020 01:00

iPhone và Apple Watch trong tương lai có thể tự động làm sạch, không cần vệ sinh

Các tin đồn mới đây cho biết, Apple sắp tích hợp tính năng tự làm sạch cho các mẫu iPhone và Apple Watch trong tương lai. Đây thực sự là một tin vui cho các iFan.

Trong bối cảnh đại dịch đang diễn ra, việc giữ sạch cho điện thoại thông minh và đồng hồ thông minh trở nên vô cùng quan trọng. Tuy nhiên, những thiết bị này cũng có thể bị bẩn từ bên trong và không có cách nào để tự làm sạch chúng.

Do đó, Apple đang nghiên cứu cách giữ cho các bộ phận bên trong của Apple Watch, iPhone và các thiết bị khác luôn sạch bằng việc tự động sử dụng các cảm biến nhỏ.

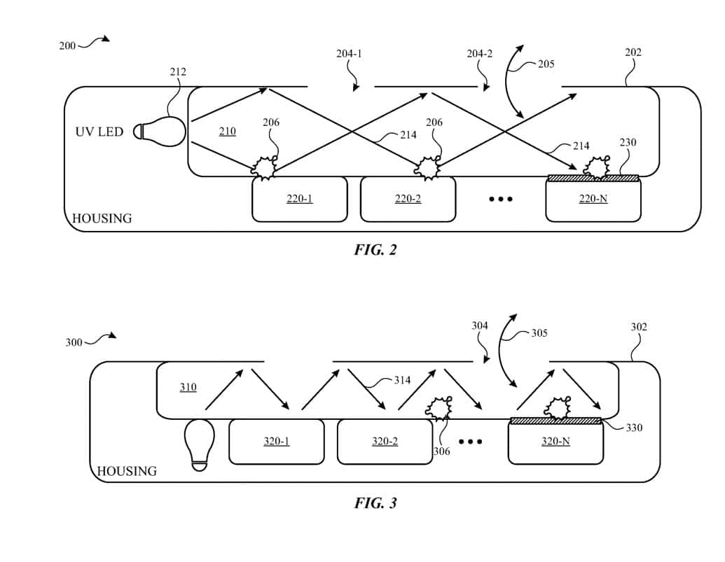
Khi sử dụng một thời gian, các bộ phận và cảm biến bên trong thiết bị có thể bị bẩn, ảnh hưởng đến hoạt động của chúng. Để giữ cho chúng sạch sẽ đồng thời khử trùng chúng, Apple đã đề xuất một ý tưởng bằng cách sử dụng nhiệt và ánh sáng. Một bằng sáng chế mới của Apple đã được nộp cho USPTO giải thích cách một số loại cảm biến có thể sử dụng để làm sạch hệ thống.

Một trong những bằng sáng chế mô tả việc tạo ra một khu vực ozone nhỏ để giảm hoặc thậm chí loại bỏ các hợp chất hữu cơ không mong muốn bên trong một thiết bị. Một bằng sáng chế khác giải thích việc sử dụng ánh sáng cực tím để mang lại cùng hiệu quả. Cả hai đều liệt kê cách cảm biến oxy máu, cảm biến huyết áp và máy đo nhịp tim nằm trong số rất nhiều ứng dụng mà các thiết bị đó có thể sử dụng.

Các thiết bị điện tử như điện thoại thông minh và đồng hồ thông minh có thể được trang bị cảm biến môi trường như cảm biến khí, cảm biến nhiệt và cảm biến áp suất. Tuy nhiên, các cảm biến như vậy dễ bị tích tụ cặn hữu cơ như lông trên cơ thể, bụi bẩn, dầu,... khiến chúng kém chính xác hơn. Tia UV có thể thực hiện quá trình oxy hóa để loại bỏ dư lượng đó.

Trước đây, Apple đã thực hiện một phương pháp để loại bỏ nước từ bên trong Apple Watch bằng các tần số đặc biệt sử dụng loa và đã được ghi lại trong các video quay chậm . Tương tự vậy, công ty hoàn toàn có thể sử dụng các cơ chế để loại bỏ bụi bẩn và cặn từ các cảm biến môi trường trong iPhone và Đồng hồ Apple trong tương lai.

MUA NGAY IPHONE GIÁ RẺ

Xem thêm:

  • Ứng dụng Apple Store bổ sung tab For You và công cụ hữu ích cho người dùng iPhone
  • Lộ bằng sáng chế của Apple cho thấy hãng đang ghép nối 2 iPad với nhau thành một chiếc laptop
  • Apple muốn tự phát triển tấm nền OLED để thoát khỏi sự phụ thuộc vào Samsung

Xem thêm

  • iOS 26.3.1 hao pin, nóng máy? 5 cách sửa lỗi cực nhanh!
  • Chính thức mở bán iPhone 17e: Sẵn hàng, giá chỉ từ 1tr/tháng
  • Duy nhất 12-15/03: iPhone 17e giảm ngay 300K cực hời!
  • iOS 26.4 ra mắt cuối tháng 3: Bốn tính năng chờ đợi nhất
  • iOS 26.4 Beta 4 hay iOS 26.3.1: Nên chọn mượt hay ổn định?
  • Siri 2.0 lại lỡ hẹn trên iOS 26.4, có thể dời sang iOS 26.5
  • iOS 26.4 Beta 4: Điểm hiệu năng cực khủng, pin dùng bao lâu?
  • iOS 26.4 Beta 4 ra mắt: Tất tần tật tính năng mới lộ diện
  • Ưu đãi khung giờ vàng: Giảm sốc 300K cho iPhone 17 Pro Max
  • Samsung thống trị nguồn cung màn hình OLED cho iPhone 17e

Tags: iPhone Apple Watch

Share: FacebookTwitterPinterest

Mời bạn cùng thảo luận

Bạn chưa viết câu hỏi của mình hoặc ít hơn 15 ký tự.

Gửi câu hỏi

Bạn chưa nhập Họ & Tên

Bạn chưa nhập Điện thoại

Bạn chưa nhập Email

Bài viết cùng chủ đề

Samsung tiết lộ hạn chế màn hình riêng tư Galaxy S26 Ultra

Samsung tiết lộ hạn chế màn hình riêng tư Galaxy S26 Ultra

MacBook Neo có đủ mạnh để chơi game không?

MacBook Neo có đủ mạnh để chơi game không?

Galaxy S26 bất ngờ mất trợ lý AI “Hey Plex” sau cập nhật

Galaxy S26 bất ngờ mất trợ lý AI “Hey Plex” sau cập nhật

Samsung khó ra mắt Galaxy Z Flip giá rẻ như tin đồn

Samsung "khó" ra mắt Galaxy Z Flip giá rẻ như tin đồn

Kỷ lục mới: 1.35 triệu đơn Galaxy S26 chốt chỉ trong 7 ngày

Kỷ lục mới: 1.35 triệu đơn Galaxy S26 "chốt" chỉ trong 7 ngày

7 sản phẩm Apple lên kệ tháng 3: MacBook Neo là tâm điểm

7 sản phẩm Apple lên kệ tháng 3: MacBook Neo là tâm điểm

Tổng đài liên hệ (08h00 - 22h00)

Tư vấn mua hàng 18003355 Hỗ trợ kỹ thuật 18003355 Tư vấn bảo hành 0838335577 Phản ánh dịch vụ 0911335577 Tuyển dụng 0832335577

Liên hệ & mua hàng

  • Chăm sóc khách hàng: cskh@minhtuanmobile.com
  • Báo giá doanh nghiệp: doanhnghiep@minhtuanmobile.com

Chính sách bán hàng

  • Chính Sách Giao Hàng
  • Chính Sách & Quy Định Chung
  • Chính Sách Bảo Hành
  • Chính Sách Bảo Hành Hãng Apple
  • Chính Sách Bảo Hành Mở Rộng
  • Chính Sách Đổi Trả
  • Chính Sách Và Quy Định Hỗ Trợ Sao Lưu, Chuyển Đổi Dữ Liệu
  • Chính Sách Bảo Mật Và Xử Lý Dữ Liệu Cá Nhân
  • Quy Chế Hoạt Động
  • Ưu đãi khi mua sản phẩm OPPO
  • Khách hàng thân thiết

Thông tin, dịch vụ khác

  • Đặt hàng iPhone
  • Khách hàng doanh nghiệp
  • Thương hiệu phân phối
  • Kèo thơm
  • Trả góp
  • Thu Cũ Đổi Mới
  • Thông tin hay
  • Tuyển dụng

Hình thức thanh toán

Hình thức thanh toán

Liên kết với Minh Tuấn Mobile

  • ZALO Minh Tuấn Mobile

Online.gov.vn DMCA.com Protection Status

Công ty TNHH Minh Tuấn Mobile - GPĐKKD: 0316579658 do sở KH & ĐT TP. HCM cấp ngày 09/11/2020. Địa chỉ: 135/1/8 Nguyễn Hữu Cảnh, Phường Thạnh Mỹ Tây, Tp. Hồ Chí Minh. Điện thoại: 1800 3355 - 0838335577

Chịu trách nhiệm nội dung: Ngư Thị Dự

Copy LINK thành công.
Minh Tuấn Mobile Minh Tuấn Mobile
Thêm vào giỏ hàng thành công.

Liên hệ đặt hàng

  • Trang chủ
  • Danh mục
  • Cửa hàng
  • Thành viên
  • Xem thêm
Thu cũ
Thu cũ
Kèo thơm
Kèo thơm
Thông tin hay
Thông tin hay

iPhone

  • Dòng máy
  • iPhone Air
    iPhone Air
  • iPhone 17
    iPhone 17
  • iPhone 16
    iPhone 16
  • iPhone 15
    iPhone 15
  • iPhone 14
    iPhone 14
  • iPhone 13
    iPhone 13
  • Mức giá iPhone
  • Dưới 15 triệu
  • Từ 15 - 25 triệu
  • Từ 25 - 35 triệu
  • Trên 35 triệu

Điện Thoại

  • Samsung
  • Galaxy Z Series
    Galaxy Z Series
  • Galaxy S Series
    Galaxy S Series
  • Galaxy A Series
    Galaxy A Series
  • Realme
  • Realme
    Realme
  • Honor
  • HONOR
    HONOR
  • Xiaomi
  • Xiaomi
    Xiaomi
  • OPPO
  • OPPO
    OPPO
  • Nokia
  • Nokia
    Nokia
  • Itel
  • Itel
    Itel

Mac

  • MacBook
  • MacBook Neo
    MacBook Neo
  • MacBook Air
    MacBook Air
  • MacBook Pro
    MacBook Pro
  • Mac
  • iMac
    iMac
  • Mac mini
    Mac mini
  • Mac Studio
    Mac Studio

Laptop

  • Thương hiệu
  • MSI
    MSI
  • Asus
    Asus
  • Lenovo
    Lenovo
  • Dell
    Dell
  • HP
    HP
  • Mức giá Laptop
  • Dưới 10 triệu
  • Từ 10 - 20 triệu
  • Từ 20 - 30 triệu

Tablet

  • iPad
  • iPad Air
    iPad Air
  • iPad Pro
    iPad Pro
  • iPad Mini
    iPad Mini
  • iPad A16
    iPad A16
  • Samsung
  • Galaxy Tab Series 10
    Galaxy Tab Series 10
  • Galaxy Tab Series 11
    Galaxy Tab Series 11
  • Galaxy Tab A11
    Galaxy Tab A11
  • Xiaomi
  • Xiaomi
    Xiaomi

Smartwatch

  • Apple Watch
  • Apple Watch SE
    Apple Watch SE
  • Apple Watch S11
    Apple Watch S11
  • Apple Watch Ultra
    Apple Watch Ultra
  • Galaxy Watch
  • Galaxy Watch8 Series
    Galaxy Watch8 Series
  • Galaxy Watch Ultra
    Galaxy Watch Ultra
  • Galaxy Fit3
    Galaxy Fit3
  • Thương hiệu khác
  • Xiaomi
    Xiaomi
  • SoundPeats
    SoundPeats
  • Garmin
    Garmin

Màn hình

  • Thương hiệu
  • SAMSUNG
    SAMSUNG
  • DELL
    DELL
  • AOC
    AOC
  • ViewSonic
    ViewSonic
  • PHILIPS
    PHILIPS
  • HP
    HP

Âm thanh

  • Chọn loại tai nghe
  • Tai nghe chụp tai
    Tai nghe chụp tai
  • Tai nghe có dây
    Tai nghe có dây
  • Tai nghe Bluetooth
    Tai nghe Bluetooth
  • Tai nghe gaming
    Tai nghe gaming
  • Tai nghe thể thao
    Tai nghe thể thao
  • Chọn loại loa
  • Loa Bluetooth
    Loa Bluetooth
  • Loa Karaoke
    Loa Karaoke
  • Loa nhỏ gọn
    Loa nhỏ gọn
  • Thương hiệu
  • Apple
    Apple
  • Samsung
    Samsung
  • B&O
    B&O
  • Bose
    Bose
  • Marshall
    Marshall
  • JBL
    JBL
  • Soundpeats
    Soundpeats
  • Havit
    Havit
  • Alpha Words
    Alpha Words
  • Sounarc
    Sounarc
  • Harman Kardon
    Harman/Kardon

Phụ kiện

  • Phụ kiện di động
  • Dán màn hình Dán cường lực
    Dán màn hình/ Dán cường lực
  • Ốp lưng Bao da
    Ốp lưng/ Bao da
  • Dán camera
    Dán camera
  • Adapter, củ sạc
    Adapter, củ sạc
  • Cáp sạc
    Cáp sạc
  • Pin sạc dự phòng
    Pin sạc dự phòng
  • Giá đỡ điện thoại
    Giá đỡ điện thoại
  • Gậy chụp ảnh
    Gậy chụp ảnh
  • Apple care +
    Apple care +
  • Sim số
    Sim số
  • Phụ kiện di động khác
    Phụ kiện di động khác
  • Phụ kiện Laptop
  • Chuột Bàn phím Bút
    Chuột/ Bàn phím/ Bút
  • Balo Túi chống sốc Túi đeo chéo
    Balo/ Túi chống sốc/ Túi đeo chéo
  • Sạc Laptop
    Sạc Laptop
  • Hub chuyển đổi
    Hub chuyển đổi
  • Phần mềm Microsoft
    Phần mềm Microsoft
  • Phủ phím
    Phủ phím
  • Dán màn hình
    Dán màn hình
  • Giá đỡ Laptop
    Giá đỡ Laptop
  • Camera
  • Camera an ninh
    Camera an ninh
  • Camera hành trình
    Camera hành trình
  • Thiết bị lưu trữ
  • Ổ cứng SSD
    Ổ cứng SSD
  • Ổ cứng HDD
    Ổ cứng HDD
  • USB
    USB
  • Ổ cứng di động
    Ổ cứng di động
  • Thẻ nhớ
    Thẻ nhớ
  • Đầu đọc thẻ nhớ
    Đầu đọc thẻ nhớ

Gia dụng

  • Thiết bị gia đình
  • Quạt
    Quạt
  • Bàn ủi
    Bàn ủi
  • Máy xông tinh dầu
    Máy xông tinh dầu
  • Máy hút bụi
    Máy hút bụi
  • Bình giữ nhiệt
    Bình giữ nhiệt
  • Nồi cơm điện
    Nồi cơm điện
  • Nồi chiên không dầu
    Nồi chiên không dầu
  • Máy lọc không khí
    Máy lọc không khí
  • Robot hút bụi
    Robot hút bụi
  • Sức khoẻ và làm đẹp
  • Máy tăm nước
    Máy tăm nước
  • Máy massage
    Máy massage
  • Máy cạo râu
    Máy cạo râu
  • Máy cắt tỉa
    Máy cắt tỉa
  • Bàn chải điện
    Bàn chải điện
  • Thiết bị nhà thông minh
  • Máy lọc không khí
    Máy lọc không khí
  • Robot hút bụi
    Robot hút bụi
  • LifeStyle
  • Hydro Flask
    Hydro Flask
  • Balo - Túi chống shock
    Balo - Túi chống shock
  • Chăm sóc cá nhân
    Chăm sóc cá nhân
  • Phụ kiện khác
    Phụ kiện khác

Hàng cũ

  • Điện thoại cũ
  • iPhone cũ
    iPhone cũ
  • Samsung cũ
    Samsung cũ
  • Điện thoại cũ khác
    Điện thoại cũ khác
  • Laptop cũ
  • MacBook cũ
    MacBook cũ
  • iMac cũ
    iMac cũ
  • Máy tính bảng cũ
  • iPad cũ
    iPad cũ
  • Galaxy Tab cũ
    Galaxy Tab cũ
  • Âm thanh cũ
  • Loa cũ
    Loa cũ
  • Tai nghe cũ
    Tai nghe cũ
  • Phụ kiện cũ
  • Phụ kiện
    Phụ kiện
  • Đồng hồ thông minh cũ
  • Đồng hồ
    Đồng hồ

Thu cũ

Kèo thơm

Thông tin hay

Ưu đãi

  • Ưu đãi
  • Sale 12.03 - 15.03
  • Tháng của Nàng, săn deal hời
  • Deals phụ kiện
  • Deals âm thanh
  • Deals sản phẩm công nghệ
  • Deals sản phẩm gia dụng
  • Học sinh - Sinh viên
  • Ưu đãi thanh toán

Tổng đài liên hệ (08h00 - 22h00)

Tư vấn mua hàng 18003355 Hỗ trợ kỹ thuật 18003355 Tư vấn bảo hành 0838335577 Phản ánh dịch vụ 0911335577 Tuyển dụng 0832335577

Liên hệ & mua hàng

  • Chăm sóc khách hàng: cskh@minhtuanmobile.com
  • Báo giá doanh nghiệp: doanhnghiep@minhtuanmobile.com

Chính sách bán hàng

  • Chính Sách Giao Hàng
  • Chính Sách & Quy Định Chung
  • Chính Sách Bảo Hành
  • Chính Sách Bảo Hành Hãng Apple
  • Chính Sách Bảo Hành Mở Rộng
  • Chính Sách Đổi Trả
  • Chính Sách Và Quy Định Hỗ Trợ Sao Lưu, Chuyển Đổi Dữ Liệu
  • Chính Sách Bảo Mật Và Xử Lý Dữ Liệu Cá Nhân
  • Quy Chế Hoạt Động
  • Ưu đãi khi mua sản phẩm OPPO
  • Khách hàng thân thiết

Thông tin, dịch vụ khác

  • Đặt hàng iPhone
  • Khách hàng doanh nghiệp
  • Thương hiệu phân phối
  • Kèo thơm
  • Trả góp
  • Thu Cũ Đổi Mới
  • Thông tin hay
  • Tuyển dụng

Hình thức thanh toán

Hình thức thanh toán

Liên kết với Minh Tuấn Mobile

  • ZALO Minh Tuấn Mobile

Online.gov.vn DMCA.com Protection Status

Công ty TNHH Minh Tuấn Mobile - GPĐKKD: 0316579658 do sở KH & ĐT TP. HCM cấp ngày 09/11/2020. Địa chỉ: 135/1/8 Nguyễn Hữu Cảnh, Phường Thạnh Mỹ Tây, Tp. Hồ Chí Minh. Điện thoại: 1800 3355 - 0838335577

Chịu trách nhiệm nội dung: Ngư Thị Dự

  • Chat Zalo (8h00 - 22h00)
  • 18003355 (8h00 - 22h00)
  • Messenger (8h00 - 22h00)